Thread Repair Specifications

Need a step-by-step guide?

Get an AI-powered repair guide with parts lists, cost estimates, and clear instructions for your 2013 GMC Truck.

AI Repair Guides



Thread Repair Specifications (LAF, LEA, or LUK)

Engine Block- Front View










Engine Block- Back View










Engine Block- Right Side View










Engine Block- Left Side View










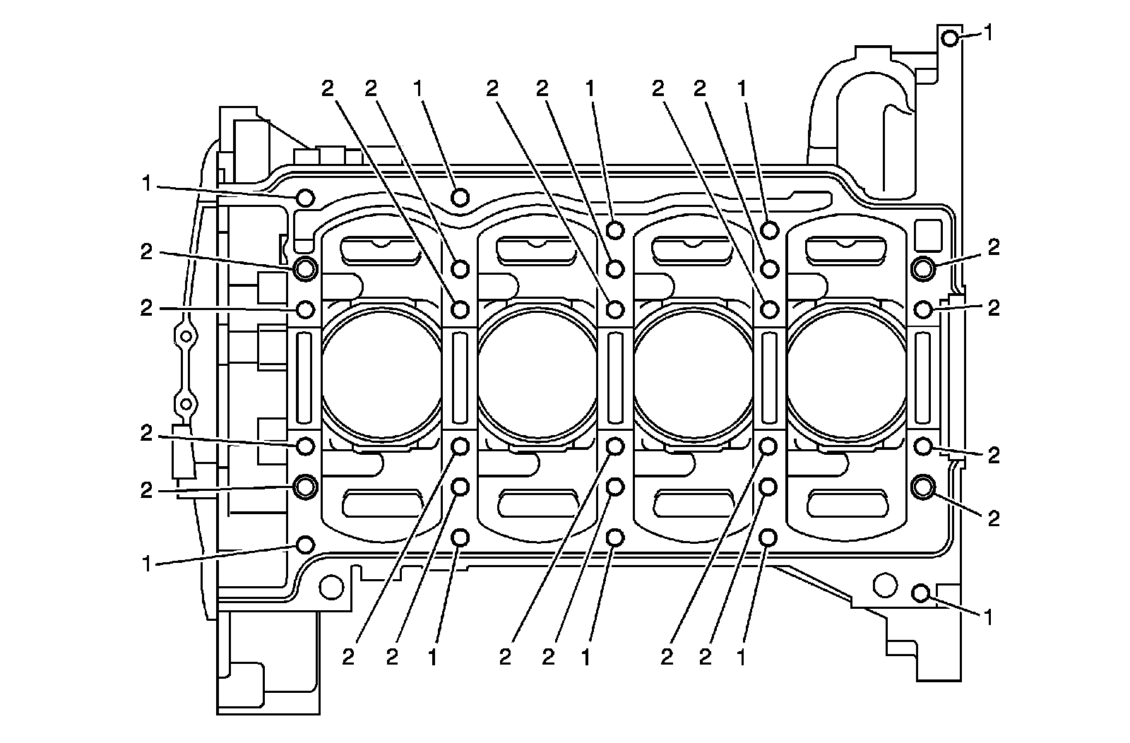
Engine Block- Bottom View










Engine Block- Top View










Lower Crankcase- Front View










Lower Crankcase- Back View










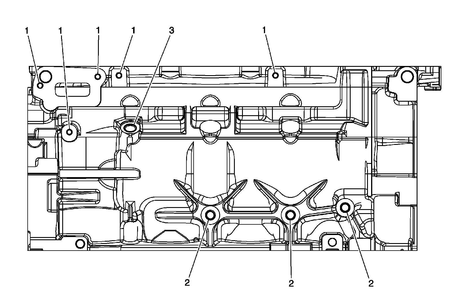
Lower Crankcase- Bottom View










Lower Crankcase- Right View










Lower Crankcase- Left View










Cylinder Head- Top View










Cylinder Head- Intake Manifold Deck View










Cylinder Head- Exhaust Manifold Deck View










Cylinder Head- Front View










Cylinder Head- Back View