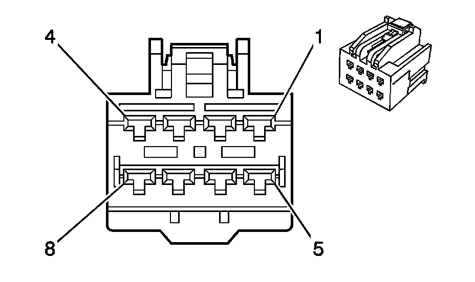
Seat Memory Control Module X4 (LTZ or SLT)

Need a step-by-step guide?

Get an AI-powered repair guide with parts lists, cost estimates, and clear instructions for your 2013 GMC Truck.

AI Repair Guides



Component Connector End Views

K40 Seat Memory Control Module X4 (LTZ or SLT)