Variator/Chain and Spur Gear Assembly

Need a step-by-step guide?

Get an AI-powered repair guide with parts lists, cost estimates, and clear instructions for your 2007 Ford.

AI Repair Guides
Variator/Chain and Spur Gear Assembly

Special Tool(s):





Disassembly

WARNING: Correct handling of the variator chain during service repairs is critical to durability of the chain. Incorrect handling of the chain may cause damage to the chain and/or the variators during transaxle operation.

^ Do not put the chain in dirty or dusty areas. If the chain is to be out of the transmission for any length of time cover it with a lint free rag or other suitable material that will not deposit lint or foreign material on the chain.
^ Do not wash or clean the chain with water or other solvents. Only clean the chain with clean automatic transmission fluid.
^ Do not magnetize the chain.
^ Do not slide or drag the chain across other surfaces.
^ Do not drop the chain. The chain may become damaged if struck against a bench, fixture or other object.

1. CAUTION: Inspect the variators and the chain for scratches, nicks or damage. If any damage is indicated, the installation of all 3 new components will be required.

CAUTION: Do not overcompress the secondary variator. Do not exceed the torque specification listed. Damage to the tool or variator will occur.

NOTE: When using the special tool, do not use any air tools to open the secondary variator. Transmission fluid will come out the top of the secondary variator. If the variator is opened too fast, fluid will squirt out from the top.

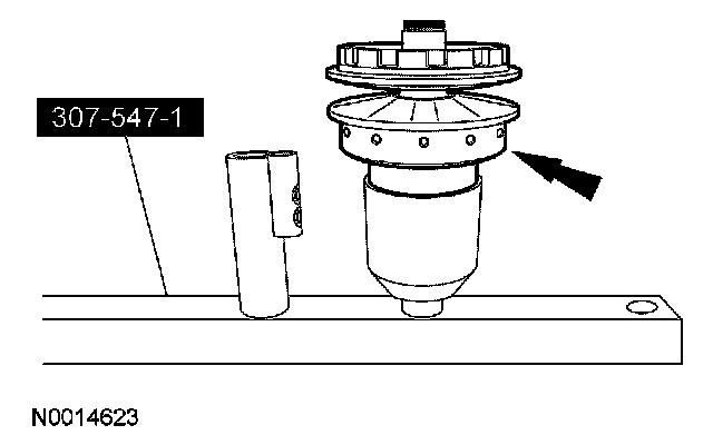
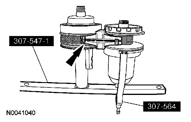
Using the special tool, open the secondary variator in order to remove the chain guides, primary variator and chain.
^ Tighten to 7 Nm (62 inch lbs.).





2. Remove both chain guides.





3. CAUTION: Do not let the variator chain hang free without some support. Damage to the chain will occur.

Lift the primary variator up and move it over (toward the secondary variator on the special tool) in order to remove the chain and the primary variator.





4. CAUTION: Do not let the variator chain hang free without some support. Damage to the chain will occur.

NOTE: While removing the primary variator it is acceptable to rest the chain on the primary variator portion of the special tool.

With the chain resting on the special tool, carefully remove the primary variator.





5. CAUTION: Do not let the variator chain hang free without some support. Damage to the chain will occur.

NOTE: While removing the primary variator it is acceptable to rest the chain on the primary variator portion of the special tool.

Carefully remove the chain.





6. Do not hold the chain in a manner that will allow it to rub against itself.





7. For horizontal handling, always handle the chain with 2 hands, never allow either end to sag to one side.





8. It is acceptable to hold the chain in one hand and allow the chain to hang vertically from that hand.





9. Slowly release the special tool and remove it.





10. Remove the secondary variator assembly from the special tool.





11. Inspect the primary and secondary variator chain mating surfaces for nicks and gouges.
Inspect the variator chain for damage. If any damage is indicated, the installation of all 3 variator components will be required.





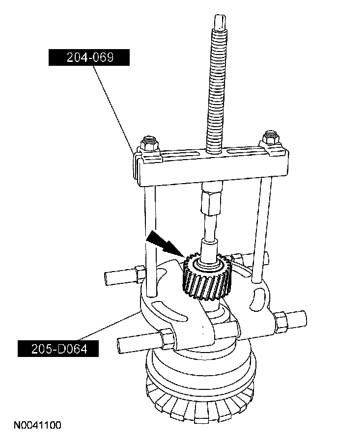
12. NOTE: The spur gear is model dependent. If installing a new variator assembly the spur will need to be transferred to the new variator assembly.

NOTE: It may be necessary to press the gear down slightly in order to remove the spur snap ring.

Remove and discard the snap ring.





13. Using the special tools, remove the spur gear.





Assembly
1. Using the special tool, install the spur gear onto the variator assembly.





2. If removed, press the gear onto the variator assembly and install the snap ring.





3. Install the secondary variator assembly into the special tool.





4. CAUTION: Do not overcompress the secondary variator. Do not exceed the torque specification listed. Damage to the tool or variator will occur.

Install the special tool and open up the secondary variator assembly.
^ Tighten to 7 Nm (62 inch lbs.).





5. CAUTION: Do not let the variator chain hang free without some support. Damage to the chain will occur.

NOTE: While installing the primary variator it is acceptable to rest the chain on the primary variator portion of the special tool.

Position the variator chain in place.





6. CAUTION: Do not let the variator chain hang free without some support. Damage to the chain will occur.

NOTE: While installing the primary variator it is acceptable to rest the chain on the primary variator portion of the special tool.

Position the primary variator on the special tool.





7. Carefully position the chain around the primary variator.





8. Once the chain is around the primary variator, lift up slightly and slide the variator over until it drops into the holding fixture.





9. Install both chain guides.





10. Remove the special tool.