Primary and Secondary Variator Covers

Need a step-by-step guide?

Get an AI-powered repair guide with parts lists, cost estimates, and clear instructions for your 2007 Ford.

AI Repair Guides
Primary and Secondary Variator Covers

Special Tool(s):




Material:





Disassembly

Primary variator cover

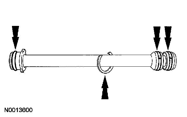
1. Remove the retaining clip and remove the primary cover forward clutch feed tube.





2. Remove and discard the 2 square cut seals, the O-ring seal and the retaining clip from the primary cover forward clutch feed tube.





3. Remove the primary feed tube.
^ If equipped with a primary feed tube that has removable O-ring seals, remove the feed tube and discard the O-ring seals.
^ If equipped with a primary feed tube that has bonded seals, remove and discard the feed tube.





Secondary variator cover

4. Remove and discard the square cut seal from the secondary cover.





5. Clean and inspect the cover.

Assembly

Primary variator cover

1. NOTE: The new retaining clip must be installed on the feed tube prior to installing the square cut seals.

Install a new O-ring seal and a new retaining clip on the forward clutch feed tube.





2. Install the special tool onto the forward clutch feed tube.





3. NOTE: Be careful not to overextend the seals when installing, damage to the seals will occur.

Using the special tool, install 2 new square cut seals.





4. CAUTION: MERCON, MERCON V and MERCON SP, Motorcraft Premium Automatic Transmission Fluid and Motorcraft Continuously Variable Chain Type Transmission Fluid are not interchangeable transmission fluids. The use of any fluid other than what is recommended for this transmission will cause transmission damage.

Lubricate the O-ring seals in clean continuously variable transaxle (CVT) transmission fluid, install the forward clutch feed tube into the primary cover and install the retaining clip.





5. Install the new primary feed tube.
^ If equipped with a primary feed tube that has removable O-ring seals, install the feed tube and new O-ring seals.
^ If equipped with a primary feed tube that has bonded seals, install the feed tube.





Secondary variator cover

6. Install a new square cut seal on the secondary cover.