Information Bus: Description and Operation

Need a step-by-step guide?

Get an AI-powered repair guide with parts lists, cost estimates, and clear instructions for your 2007 Ford.

AI Repair Guides
COMMUNICATIONS NETWORK

Vehicle communication utilizes both International Standards Organization (ISO) 9141 and controller area network (CAN) communications. ISO 9141 is used for diagnostic use only, and CAN is used for many modules to communicate with each other on a common network. CAN in-vehicle networking, is a method for transferring data among distributed electronic modules via a serial data bus. Without serial networking, intermodule communication requires dedicated, point to point wiring resulting in bulky, expensive, complex, and difficult to install wiring harnesses. Applying a serial data network reduces the number of wires combining the signals on a single network. Information is sent to the individual control modules that control each function.

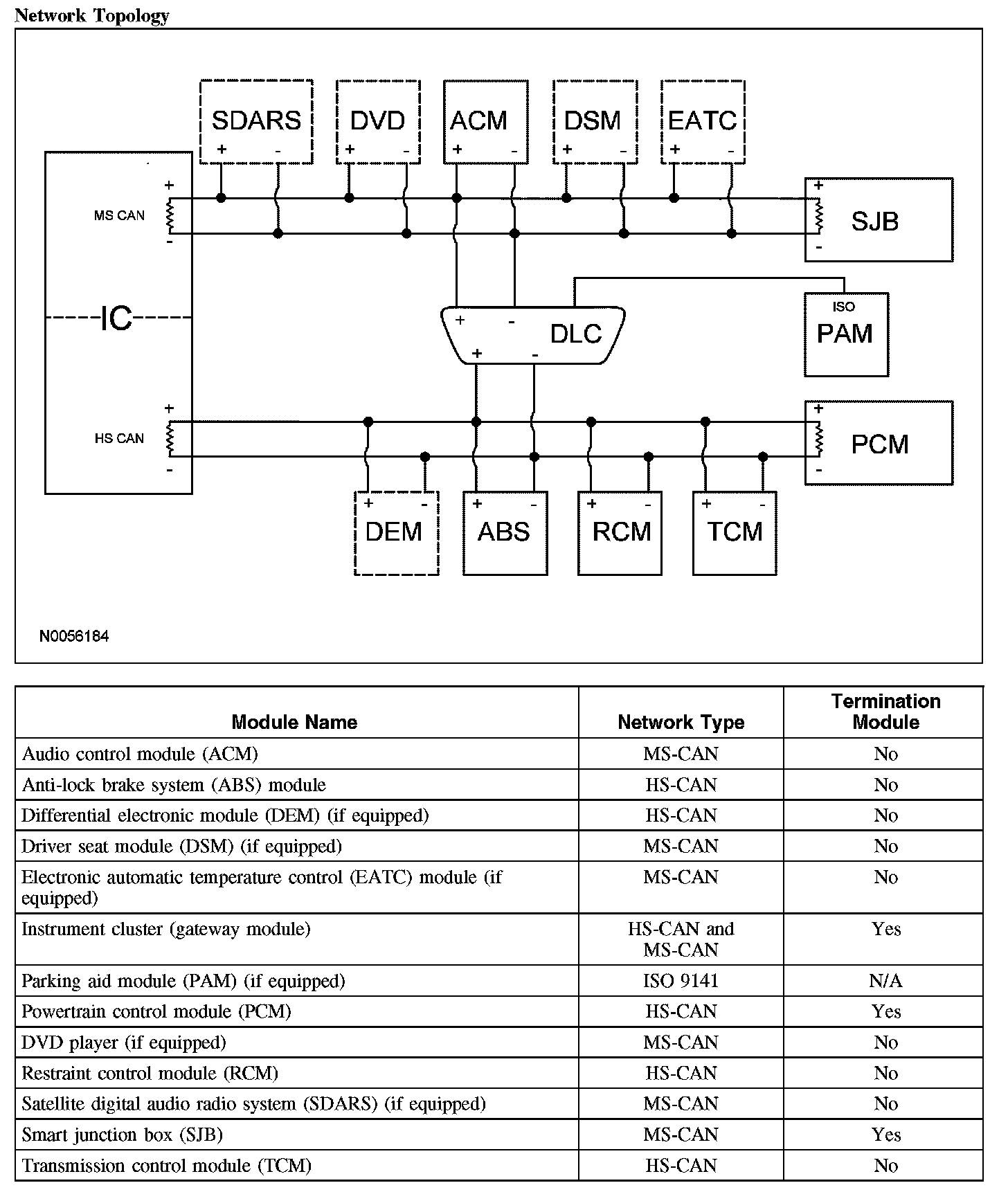
The vehicle has 3 module communication networks:
- ISO 9141
- Medium speed (MS) CAN
- High speed (HS) CAN

All 3 networks are connected to the data link connector (DLC). This makes diagnosis and testing of these systems easier by allowing one scan tool to be able to diagnose and control any module on the 3 networks from one connector. The DLC can be found under the instrument panel between the steering column and the audio unit.


Network Topology:






ISO 9141 Network Operation
The ISO 9141 communications network is a single wire network. The ISO 9141 communication network is used only by the parking aid module (if equipped).

MS-CAN Network Operation
The MS-CAN network communicates using bussed messages. The MS-CAN has an unshielded twisted pair cable, data bus (+) and data bus (-) circuits. In addition to scan tool communication, this network allows sharing of information between all modules on the network.

The MS-CAN is a medium speed communication network used for the following modules:
- Audio unit
- Instrument cluster
- SJB
- DSM (if equipped)
- EATC module (if equipped)
- DVD player (if equipped)
- Satellite digital audio radio system (SDARS) (if equipped)

HS-CAN Network Operation
The HS-CAN network communicates using bussed messages. The HS-CAN network uses an unshielded twisted pair cable, data bus (+) and data bus (-) circuits. In addition to scan tool communication, this network allows sharing of information between all modules on the network.

The HS-CAN is a high speed communication network used for the following modules:
- PCM
- RCM
- TCM
- ABS module
- Instrument cluster
- DEM (if equipped)

Network Termination
The CAN network uses a network termination circuit to improve communication reliability. The network termination of the CAN bus takes place inside the termination modules by termination resistors. Termination modules are located at either end of the bus network. As network messages are broadcast, in the form of voltage signals, the network voltage signals are stabilized by the termination resistors. Each termination module has a 120 ohm resistor across the positive and negative bus connection in the termination module. With two termination modules on each network, and the 120 ohm resistors located in a parallel circuit configuration, the total network impedance, or total resistance is 60 ohms.

Network termination improves bus message reliability by:
- stabilizing bus voltage.
- eliminating electrical interference.

Gateway Module
The instrument cluster is the gateway module, translating HS-CAN to MS-CAN and vice versa. This information allows a message to be distributed throughout both networks. The instrument cluster is the only module on this vehicle that has this ability.