Valve Inspection

Need a step-by-step guide?

Get an AI-powered repair guide with parts lists, cost estimates, and clear instructions for your 2007 Ford.

AI Repair Guides
Valve Inspection

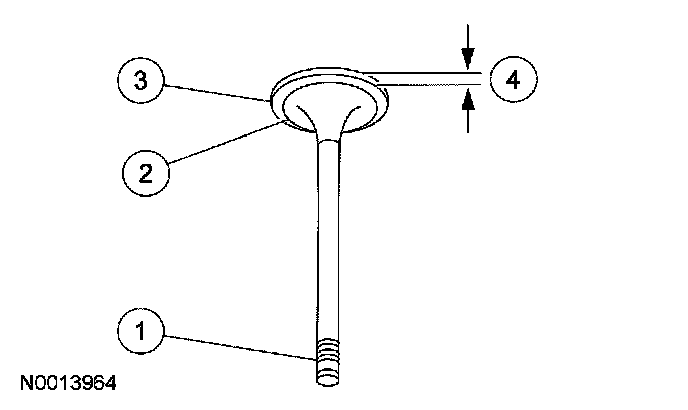
1. Inspect the following valve areas:
1 The end of the stem for grooves or scoring.
2 The valve face and the edge for pits, grooves or scores.
3 The valve head for signs of burning, erosion, warpage and cracking.
4 The valve margin for wear.