Cruise Control Servo Cable: Adjustments

Need a step-by-step guide?

Get an AI-powered repair guide with parts lists, cost estimates, and clear instructions for your 1997 Ford.

AI Repair Guides
1. Disconnect the speed control cable from the throttle control lever.







2. Remove the (A) speed control cable adjuster clip from the (B) cable adjuster.







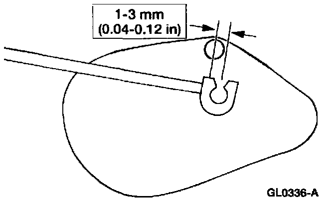
3. Adjust the speed control cable until freeplay is within specifications.







4. Install the (A) servo control cable adjuster clip into the (B) cable adjuster.