Inspection Instruments

Need a step-by-step guide?

Get an AI-powered repair guide with parts lists, cost estimates, and clear instructions for your 1995 Eagle.

AI Repair Guides

Test Lights:





1. Test Lights
A test light consists of a 12 V bulb and lead wires. It is used to check voltages or short circuits.

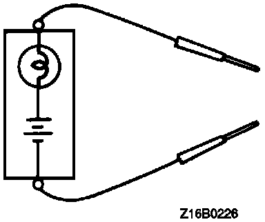
Self Power Test Light:





2. Self-Power Test Light
A self-power test light consists of a bulb, battery and lead wires connected in series. It is used to check continuity or grounding.

Jumper Wire:





3. Jumper wire
A jumper wire is used to close an open circuit. Never use one to connect a power supply directly to a load.

Voltmeter:





4. Voltmeter
A voltmeter is used to measure the circuit voltage. Normally, the positive (red lead) probe is applied to the point of voltage measurement and the negative (black lead) probe to the body ground.


Ohmmeter:





5. Ohmmeter
An ohmmeter is used to check continuity or measure resistance of a switch or coil. If the measuring range has been changed, the zero point must be adjusted before measurement.