Part 2 of 2

Need a step-by-step guide?

Get an AI-powered repair guide with parts lists, cost estimates, and clear instructions for your 1991 Dodge.

AI Repair Guides

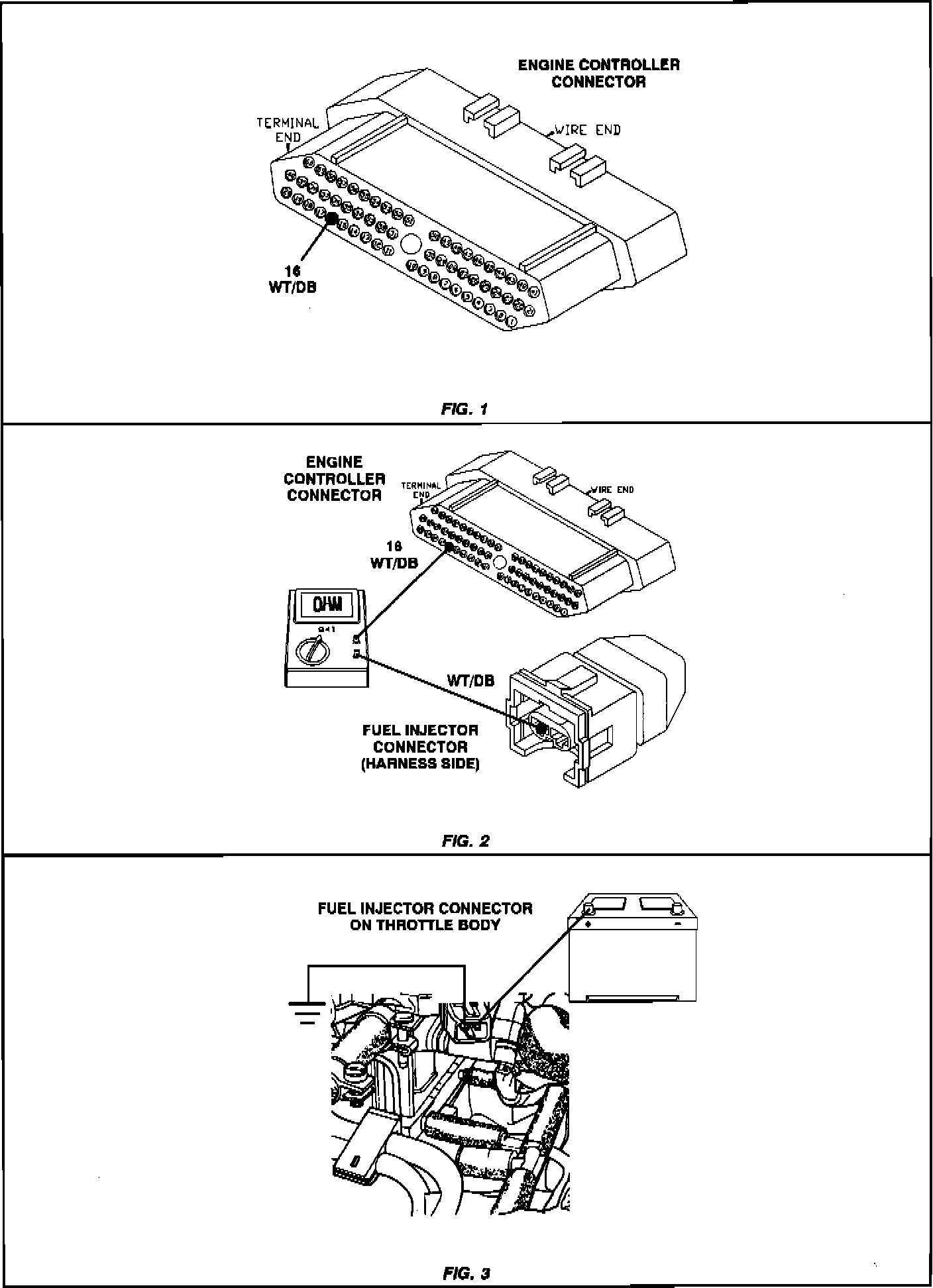
Test NS-10B - Checking Injector, Control Circuit, And Engine Controller:



Test NS-10B - Checking Injector, Control Circuit, And Engine Controller: