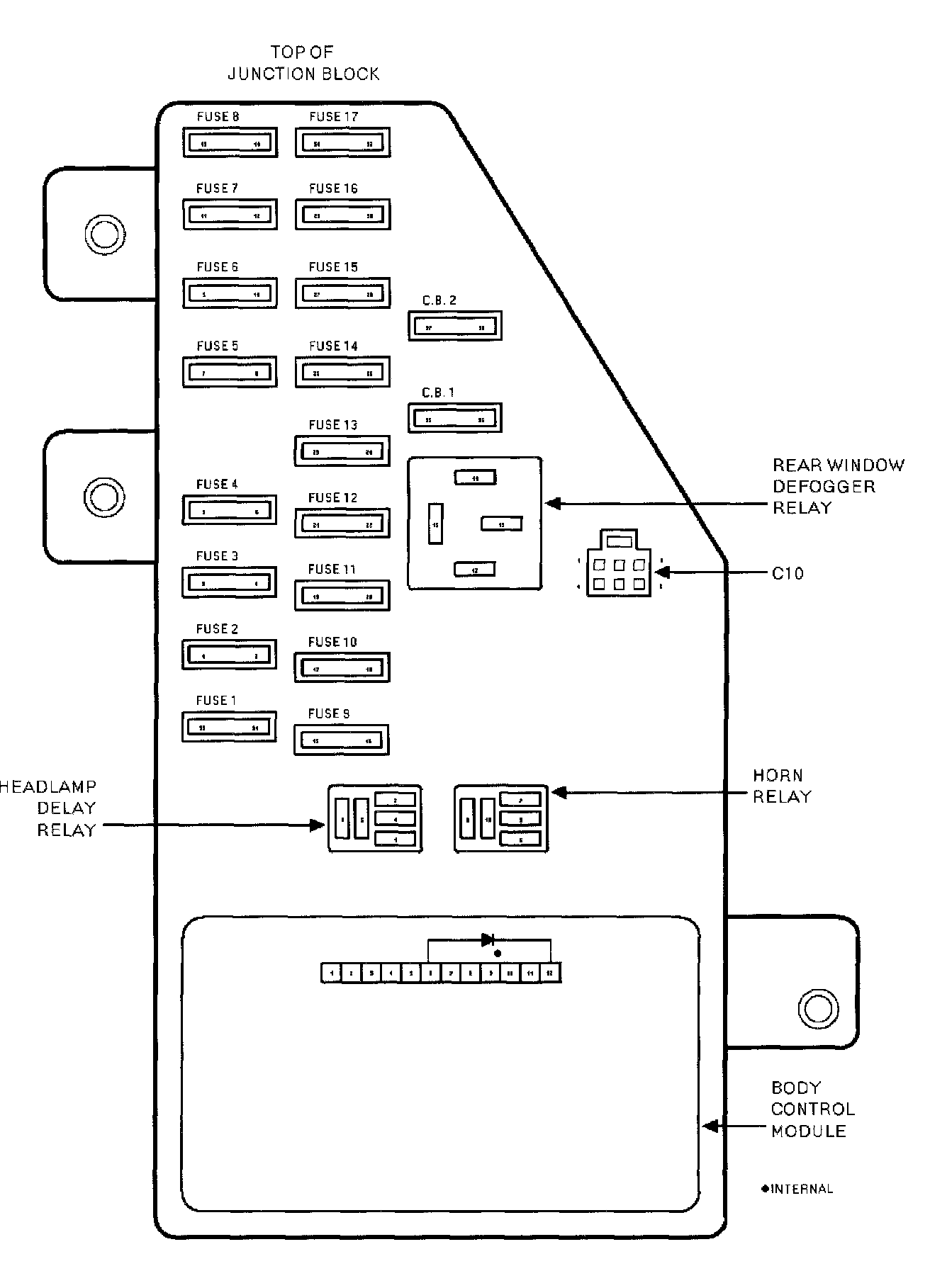
Connector Terminal Views

Need a step-by-step guide?

Get an AI-powered repair guide with parts lists, cost estimates, and clear instructions for your 1999 Chrysler.

AI Repair Guides

Top View:




C - 1 Brown 12 Way:




C - 2 Natural 10 Way:




C - 3 White 4 Way:




C - 4 Blue 10 Way:




C - 5 Gray 16 Way:




C - 6 White 6 Way:




C - 7 Natural 12 Way:




C - 8 Black 8 Way:




C - 9 White 12 Way:




C - 10 Natural 6 Way: