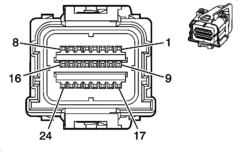
Inflatable Restraint Sensing and Diagnostic Module (SDM) X1

Need a step-by-step guide?

Get an AI-powered repair guide with parts lists, cost estimates, and clear instructions for your 2013 Chevy Truck.

AI Repair Guides



Component Connector End Views

Inflatable Restraint Sensing and Diagnostic Module (SDM) X1