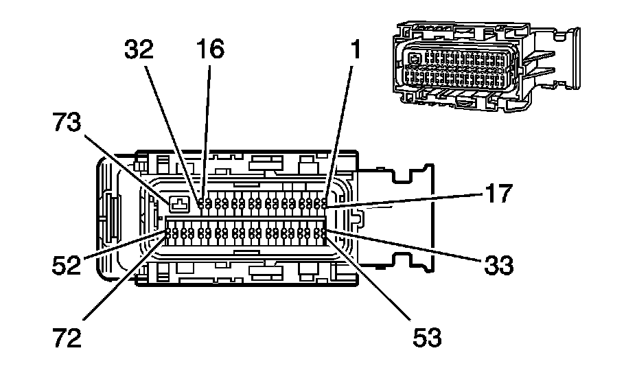
Engine Control Module X3

Need a step-by-step guide?

Get an AI-powered repair guide with parts lists, cost estimates, and clear instructions for your 2013 Chevy Truck.

AI Repair Guides