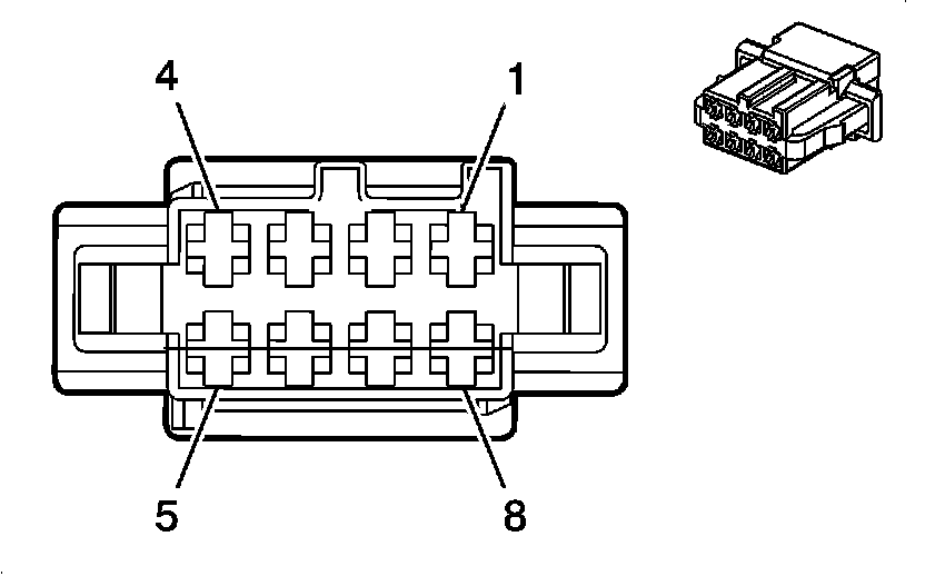
Steering Column Control Module

Need a step-by-step guide?

Get an AI-powered repair guide with parts lists, cost estimates, and clear instructions for your 2013 Chevrolet.

AI Repair Guides



Component Connector End Views

K60 Steering Column Lock Control Module (ULS)