Thread Repair Specifications

Need a step-by-step guide?

Get an AI-powered repair guide with parts lists, cost estimates, and clear instructions for your 2013 Chevrolet.

AI Repair Guides



Thread Repair Specifications (6.2L LS3/7.0L)

Engine Block- Front/Rear Views










Engine Block- Left/Right Side Views










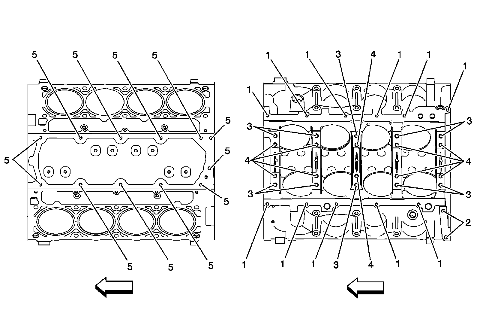
Engine Block- Top/Bottom Views










Cylinder Head- Top/End Views










Cylinder Head- Intake/Exhaust Side Views