Front of Vehicle/Engine Compartment Component Views

Need a step-by-step guide?

Get an AI-powered repair guide with parts lists, cost estimates, and clear instructions for your 2009 Chevrolet.

AI Repair Guides



Front of Vehicle/Engine Compartment Component Views

Forward Lighting




1 - Headlamp - Right Low Beam
2 - Park/Turn Signal Lamp - Right
3 - Headlamp - Right High Beam
4 - Park/Turn Signal Lamp - Left
5 - Headlamp - Left High Beam
6 - Headlamp - Left Low Beam
7 - Repeater Lamp - Left Front
8 - Marker Lamp - Left Front
9 - Fog Lamp - Left Front (T96)
10 - Marker Lamp - Right Front
11 - Fog Lamp - Right Front (T96)
12 - Repeater Lamp - Right Front

Engine Compartment Cooling




1 - A/C Refrigerant Pressure Sensor (C68)
2 - Engine Cooling Fan - Right
3 - Engine Cooling Fan - Left
4 - Windshield Washer Fluid Pump
5 - Windshield Washer Fluid Level Switch
6 - Horn Assembly

Underhood Sensors




1 - Inflatable Restraint Front End Sensor - Left
2 - Ambient Air Temperature Sensor
3 - Inflatable Restraint Front End Sensor - Right

Underhood Components (LE5 or LY7 or LZ4)




1 - Windshield Wiper Motor
2 - Master Cylinder
3 - Electronic Brake Control Module (EBCM)
4 - Fuse Block - Underhood
5 - Engine Control Module (ECM)
6 - Transmission Control Module (TCM) (MN5)
7 - Battery
8 - Battery Current Sensor
9 - Mass Air Flow (MAF)/Intake Air Temperature (IAT) Sensor
10 - Brake Fluid Level Switch

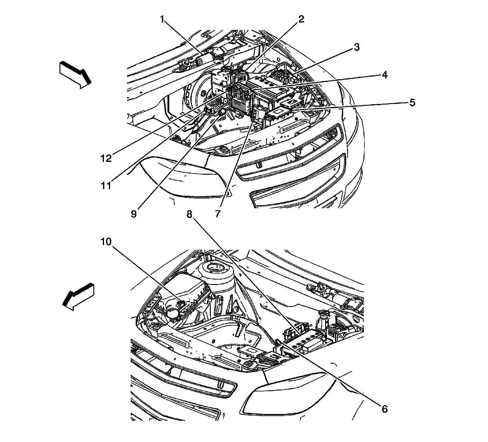
Underhood Components (LAT)




1 - Windshield Wiper Motor
2 - Electronic Brake Control Module (EBCM)
3 - Fuse Block - Underhood
4 - Engine Control Module (ECM)
5 - Starter Generator Control Module (SGCM)
6 - Battery Current Sensor
7 - Transmission Control Module (TCM) (ME7)
8 - Battery
9 - Brake Master Cylinder Pressure Sensor
10 - Mass Air Flow (MAF)/Intake Air Temperature (IAT) Sensor
11 - Brake Booster Vacuum Sensor
12 - Brake Fluid Level Switch

Above and Forward of the Radiator




1 - Hood Ajar Switch