Thread Repair Specifications

Need a step-by-step guide?

Get an AI-powered repair guide with parts lists, cost estimates, and clear instructions for your 2009 Chevrolet.

AI Repair Guides



Thread Repair Specifications

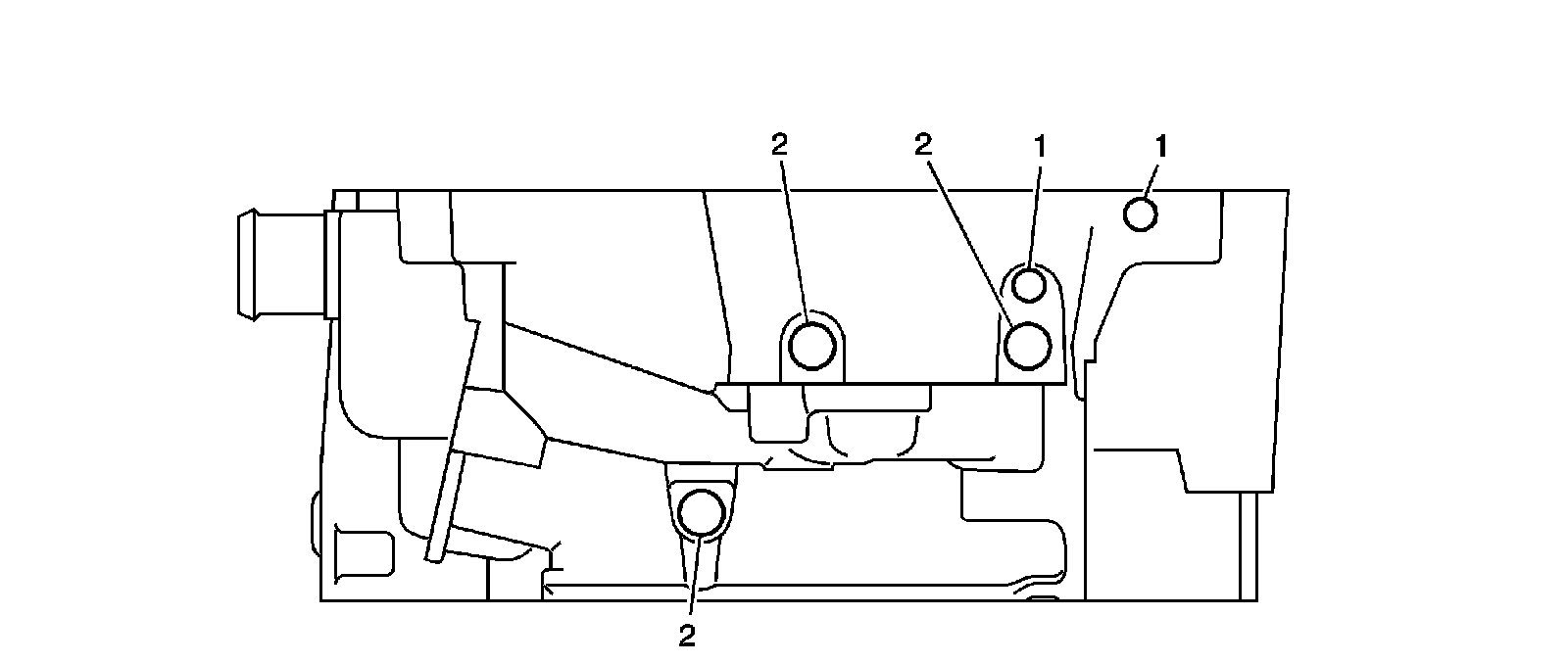
Engine Block - Front View









Engine Block - Back View









Engine Block - Left Side View









Engine Block - Bottom View









Engine Block - Right Side View









Engine Block - Top View









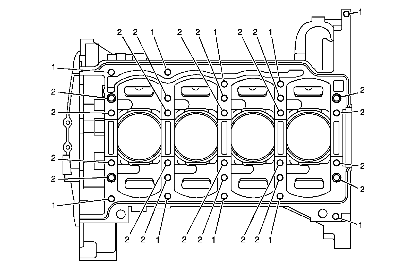
Lower Crankcase - Front View









Lower Crankcase - Back View









Lower Crankcase - Bottom View









Lower Crankcase - Left View









Lower Crankcase - Right View









Cylinder Head - Top View









Cylinder Head - Intake Manifold Deck View









Cylinder Head - Exhaust Manifold Deck View









Cylinder Head - Front View









Cylinder Head - Back View