Engine Control Module

Need a step-by-step guide?

Get an AI-powered repair guide with parts lists, cost estimates, and clear instructions for your 2007 Chevrolet.

AI Repair Guides


Engine Control Module Connector End Views

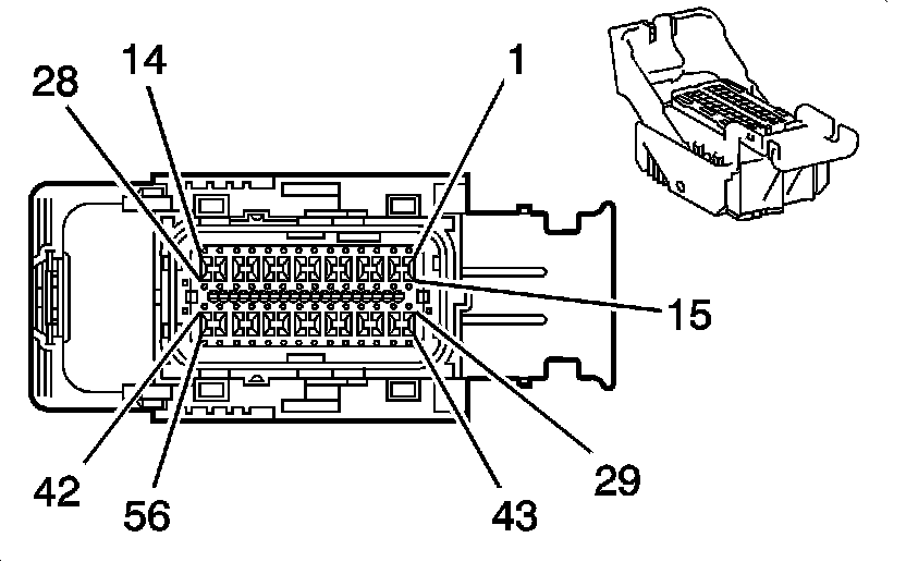
Engine Control Module (ECM) C1









Engine Control Module (ECM) C1 (Pin 1 To 31):





Engine Control Module (ECM) C1 (Pin 32 To 56):






Engine Control Module (ECM) C2













Engine Control Module (ECM) C2 (Pin 17 To 73):






Engine Control Module (ECM) C3









Engine Control Module (ECM) C3 (Pin 1 To 36):





Engine Control Module (ECM) C3 (Pin 37 To 73):