Vehicle Zoning Strategy

Need a step-by-step guide?

Get an AI-powered repair guide with parts lists, cost estimates, and clear instructions for your 2007 Chevrolet.

AI Repair Guides


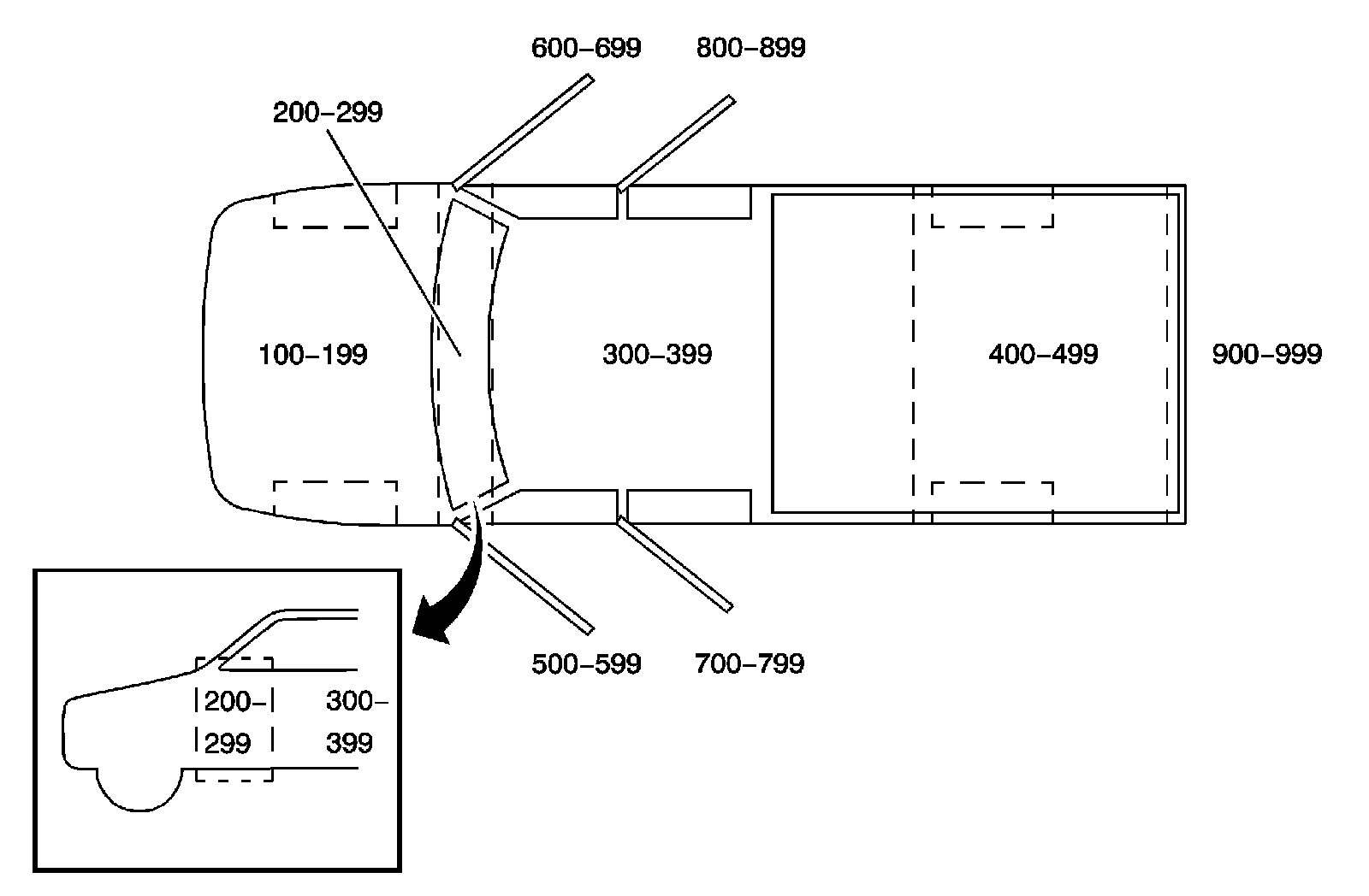
TRUCK ZONING







All grounds, in-line connectors, pass-through grommets, and splices have identifying numbers that corresponds to where they are located in the vehicle. The table explains the numbering system.