Connector Views

Need a step-by-step guide?

Get an AI-powered repair guide with parts lists, cost estimates, and clear instructions for your 2007 Chevrolet.

AI Repair Guides


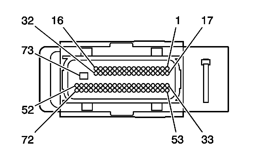
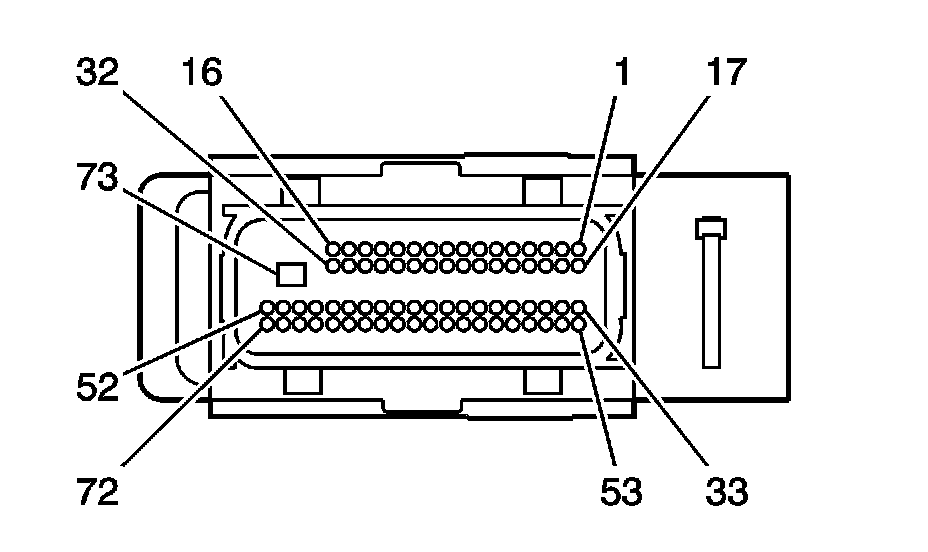
Engine Control Module Connector End Views

Engine Control Module (ECM) C1







Engine Control Module (ECM) C1 (Pin 1 To 20):




Engine Control Module (ECM) C1 (Pin 21 To 73):






Engine Control Module (ECM) C2







Engine Control Module (ECM) C2 (Pin 1 To 15):




Engine Control Module (ECM) C2 (Pin 16 To 73):