Engine Control Module

Need a step-by-step guide?

Get an AI-powered repair guide with parts lists, cost estimates, and clear instructions for your 2007 Chevrolet.

AI Repair Guides


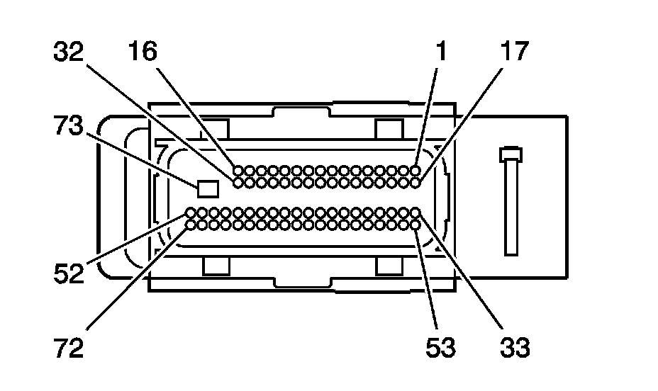
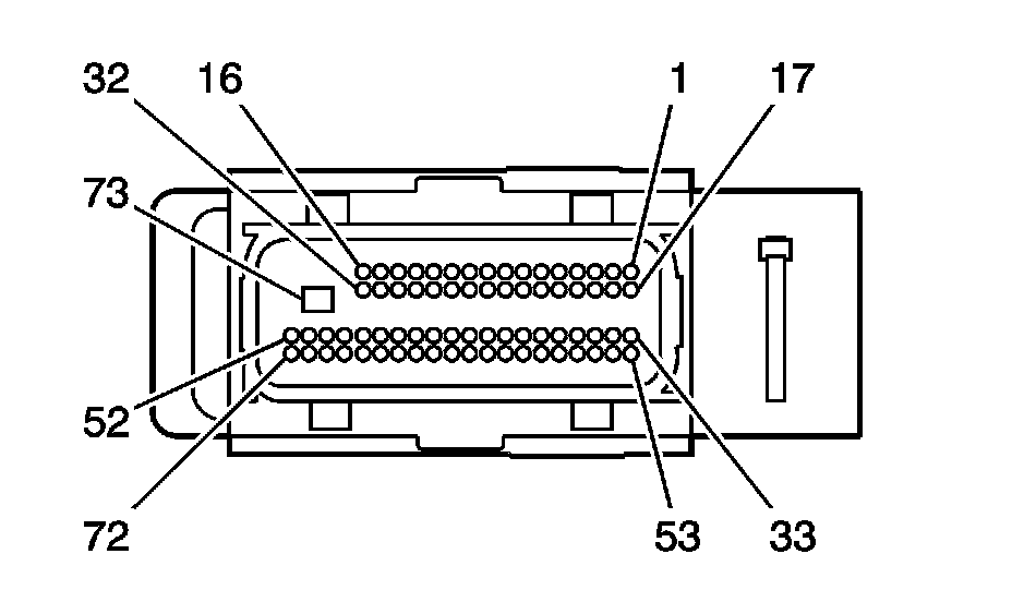
Engine Control Module Connector End Views

Engine Control Module (ECM) C1









Engine Control Module (ECM) C1 (Pin 1 To Pin 20):





Engine Control Module (ECM) C1 (Pin 21 To Pin 73):






Engine Control Module (ECM) C2









Engine Control Module (ECM) C2 (Pin 1 To Pin 15):





Engine Control Module (ECM) C2 (Pin 16 To Pin 73):