Thread Repair Specifications

Need a step-by-step guide?

Get an AI-powered repair guide with parts lists, cost estimates, and clear instructions for your 2006 Chevrolet.

AI Repair Guides


Thread Repair Specifications

Engine Block - Front View:




Engine Block - Front View:




Engine Block - Back View:




Engine Block - Left Side View:




Engine Block - Left Side View:




Engine Block - Bottom View:




Engine Block - Bottom View:




Engine Block - Right Side View:




Engine Block - Right Side View:




Engine Block - Top View:




Engine Block - Top View:




Engine Block - Top View:




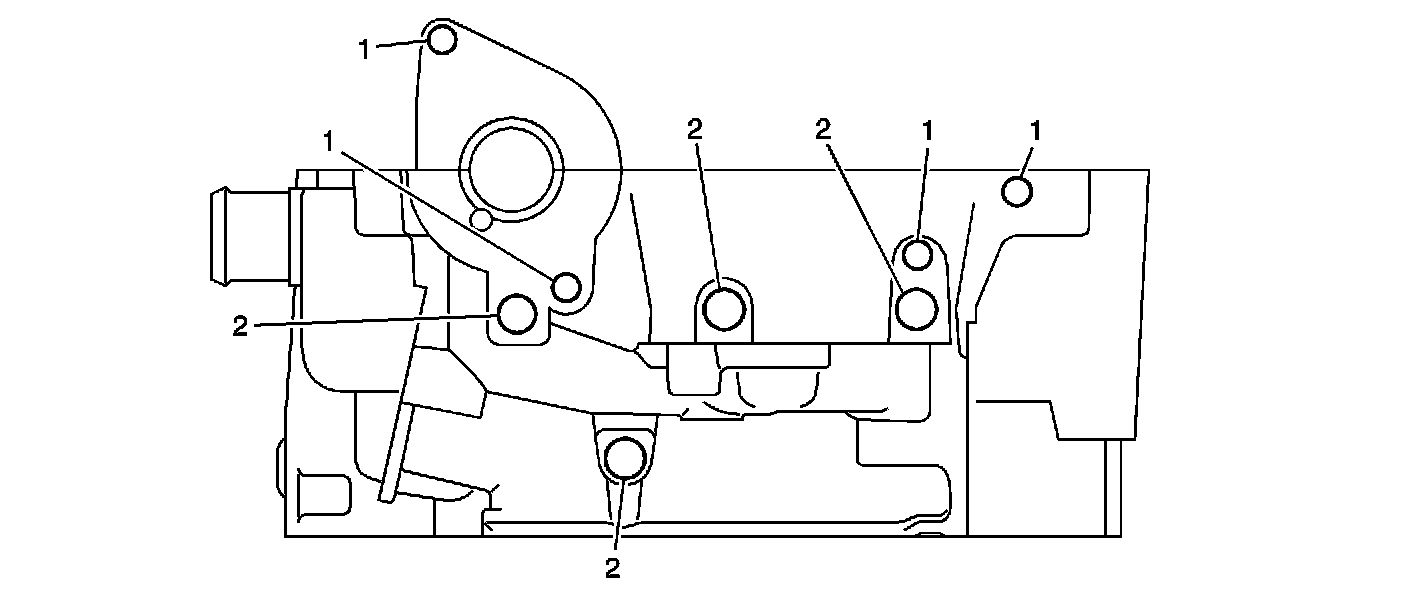
Lower Crankcase - Front View:




Lower Crankcase - Front View:




Lower Crankcase - Back View:




Lower Crankcase - Back View:




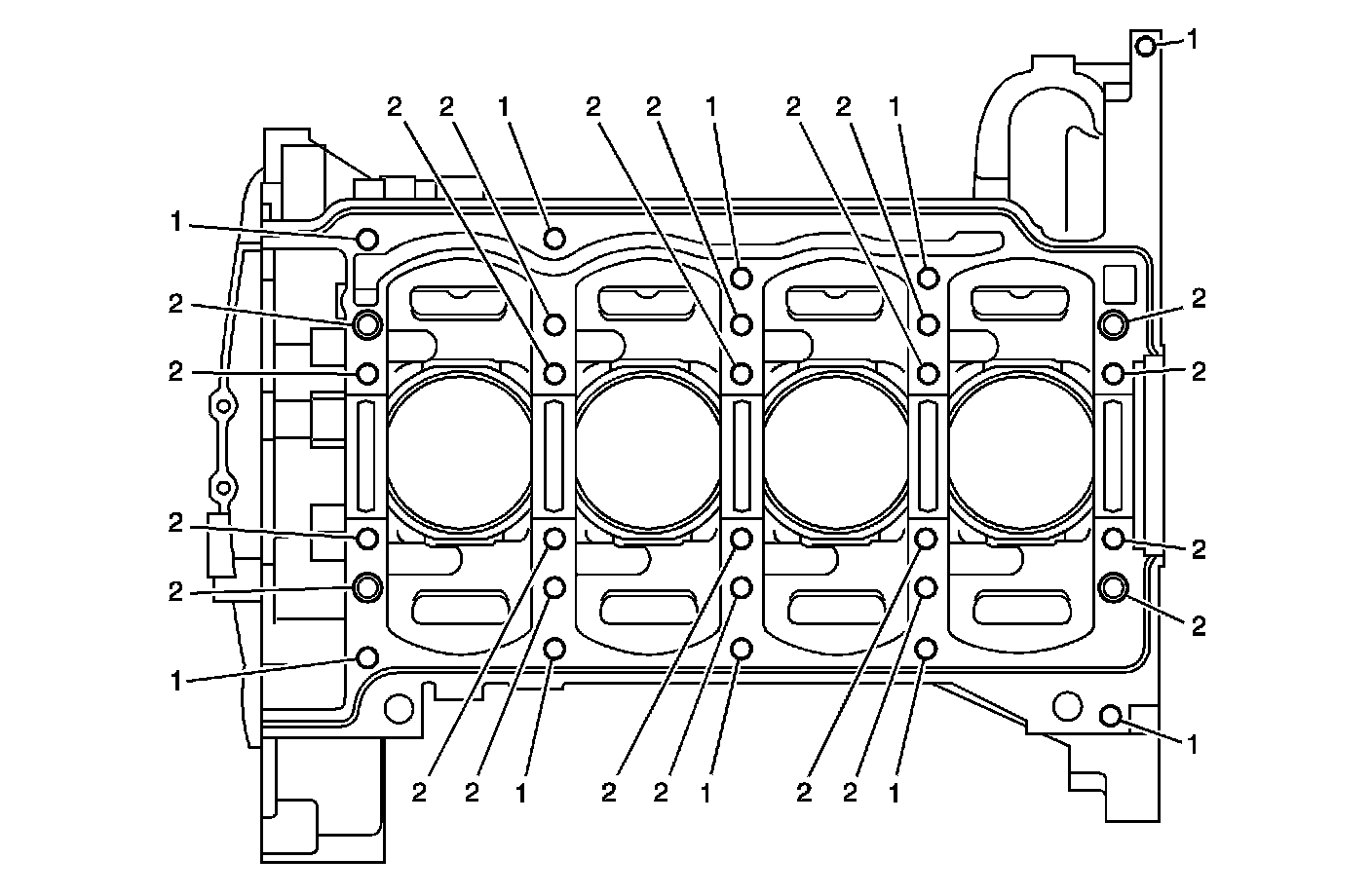
Lower Crankcase - Bottom View:




Lower Crankcase - Bottom View:




Lower Crankcase - Left View:




Lower Crankcase - Left View:




Lower Crankcase - Right View:




Lower Crankcase - Right View:




Cylinder Head - Top View:




Cylinder Head - Top View:




Cylinder Head - Intake Manifold Deck View:




Cylinder Head - Intake Manifold Deck View:




Cylinder Head - Exhaust Manifold Deck View:




Cylinder Head - Exhaust Manifold Deck View:




Cylinder Head - Front View:




Cylinder Head - Front View:




Cylinder Head - Back View:




Cylinder Head - Back View:




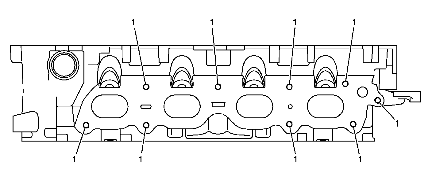
Cylinder Head - Bottom View:




Cylinder Head - Bottom View: