Thread Repair Specifications

Need a step-by-step guide?

Get an AI-powered repair guide with parts lists, cost estimates, and clear instructions for your 2013 Cadillac.

AI Repair Guides




Thread Repair Specifications

Engine Block- Front/Rear Views










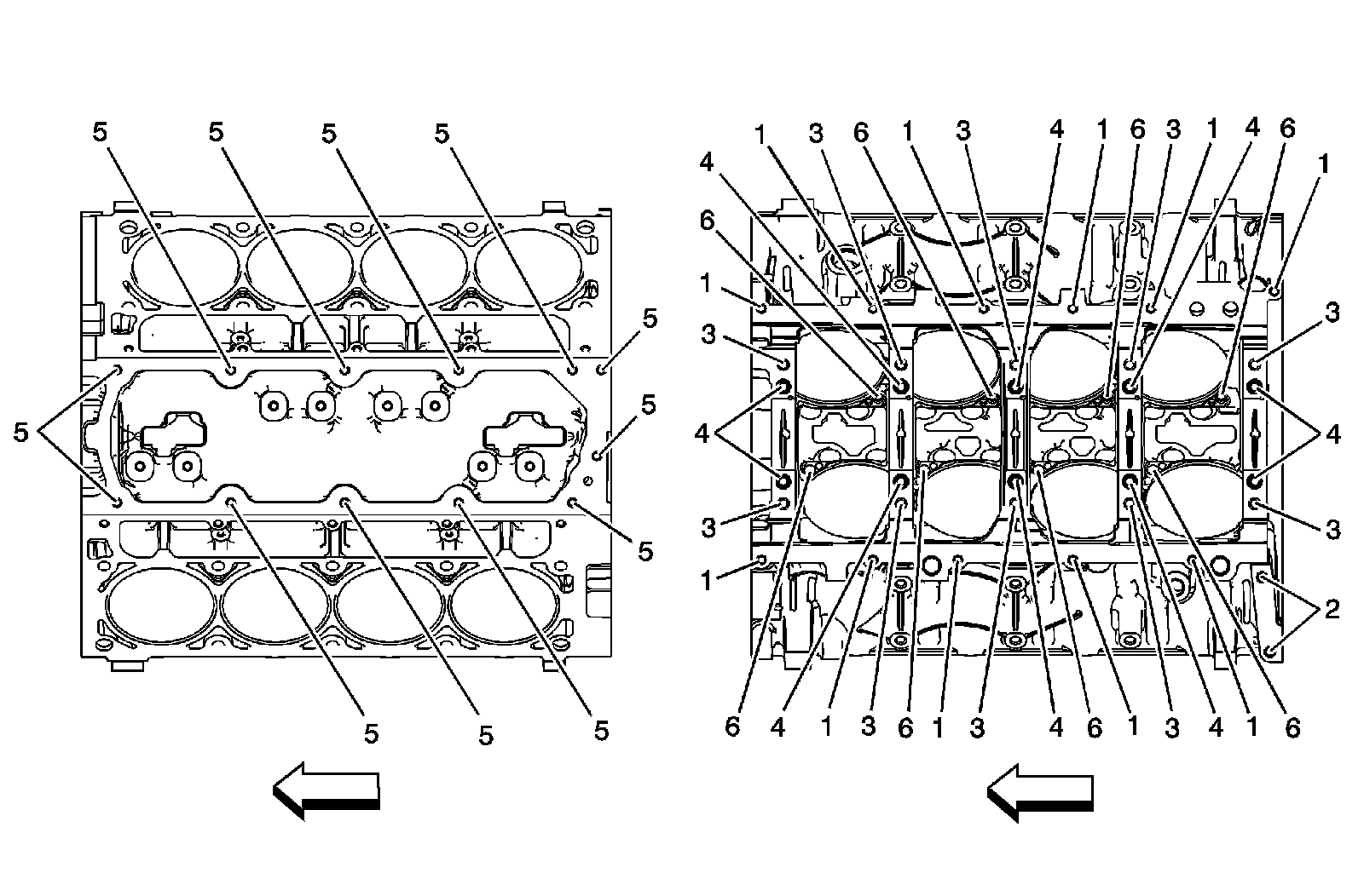
Engine Block- Left/Right Side Views










Engine Block- Top/Bottom Views










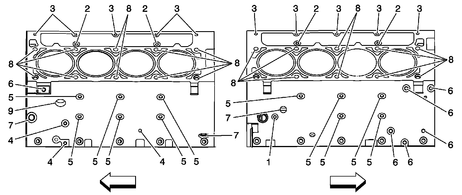
Cylinder Head- Top/End Views










Cylinder Head- Intake/Exhaust Side Views