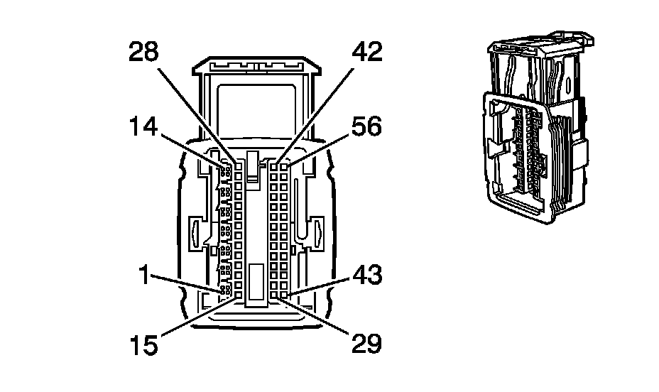
Pedestrian Impact Detection Module X1 (B3T)

Need a step-by-step guide?

Get an AI-powered repair guide with parts lists, cost estimates, and clear instructions for your 2013 Cadillac.

AI Repair Guides




Component Connector End Views

Pedestrian Impact Detection Module X1 (B3T)