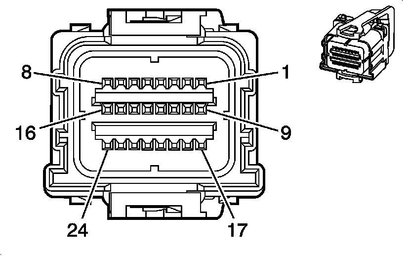
Inflatable Restraint Sensing and Diagnostic Module (SDM) X1

Need a step-by-step guide?

Get an AI-powered repair guide with parts lists, cost estimates, and clear instructions for your 2013 Cadillac.

AI Repair Guides




Component Connector End Views

Inflatable Restraint Sensing and Diagnostic Module (SDM) X1