Thread Repair Specifications

Need a step-by-step guide?

Get an AI-powered repair guide with parts lists, cost estimates, and clear instructions for your 1999 Cadillac.

AI Repair Guides

1 Of 2:




2 Of 2:





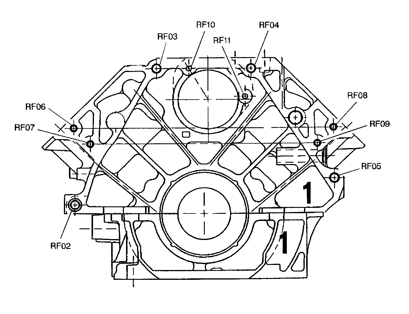
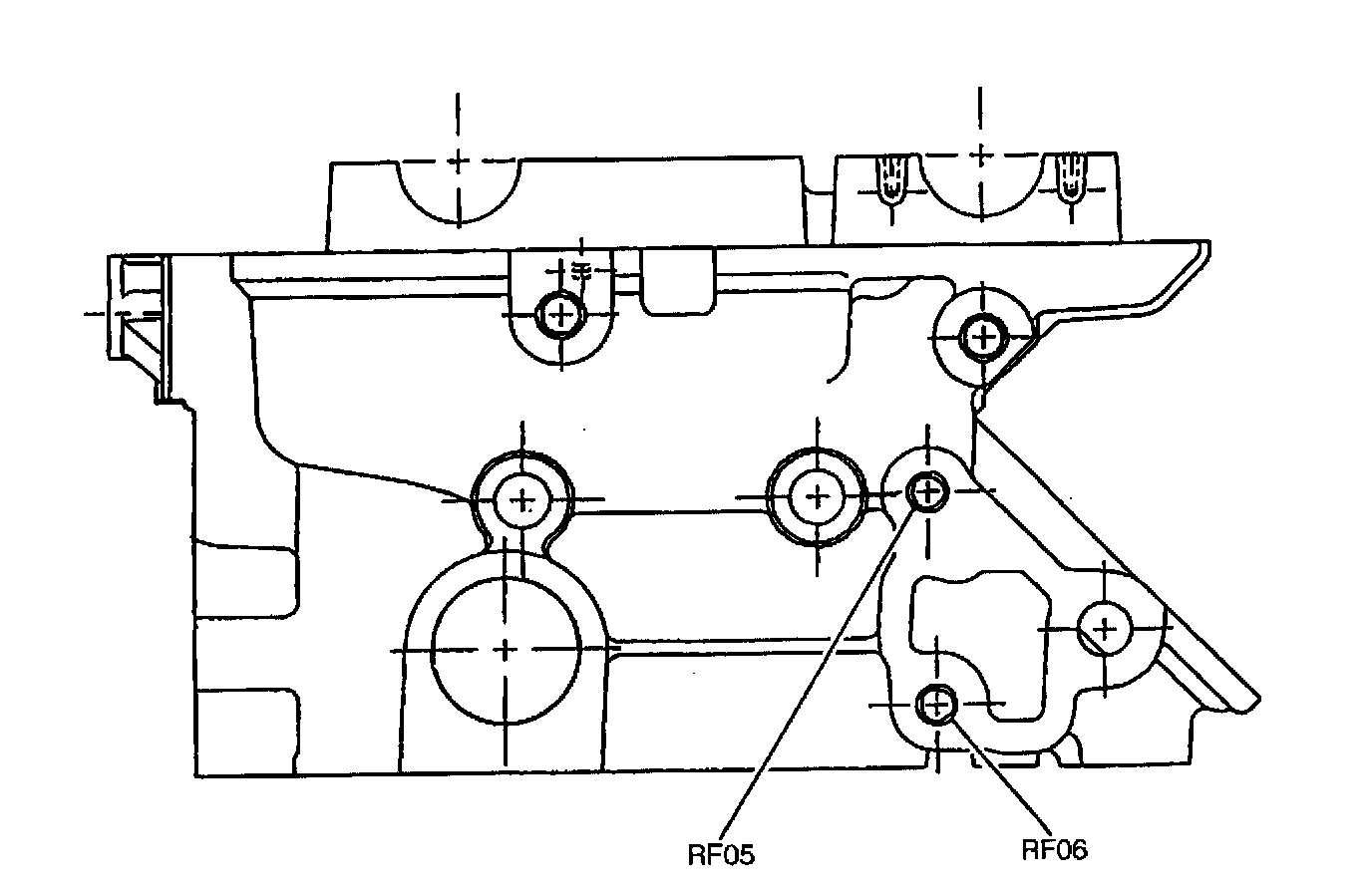
Rear Face Of Cylinder Block

1 Of 2:




2 Of 2:





Left Side Of Cylinder Block

1 Of 3:




2 Of 3:




3 Of 3:





Front Face Of Cylinder Block

1 Of 2:




2 Of 2:





Right Side Of Cylinder Block

1 Of 3:




2 Of 3:




3 Of 3:





Cylinder Block Pan Rail

1 Of 2:




2 Of 2:





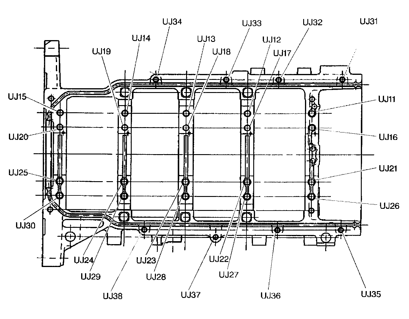
Cylinder Block Upper Joint

1 Of 2:




2 Of 2:





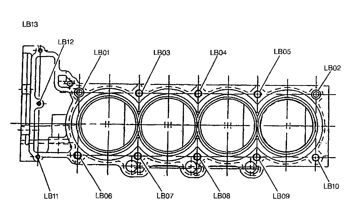
Left Bank Deck Face

1 Of 2:




2 Of 2:





Right Bank Deck Face

1 Of 3:




2 Of 3:




3 Of 3:





Cylinder Head Cam Cover Face

1 Of 2:




2 Of 2:





Front Face Of Cylinder Head

1 Of 2:




2 Of 2:





Rear Face Of Cylinder Head

1 Of 2:




2 Of 2:





Intake Face Of Cylinder Head

1 Of 2:




2 Of 2:





Exhaust Manifold Face Of Cylinder Head