Inflatable Restraint Sensing and Diagnostic Module Replacement (With RPO Code AG1/AG2)

Need a step-by-step guide?

Get an AI-powered repair guide with parts lists, cost estimates, and clear instructions for your 2006 Buick.

AI Repair Guides


INFLATABLE RESTRAINT SENSING AND DIAGNOSTIC MODULE REPLACEMENT (WITH RPO CODE AG1/AG2)

REMOVAL PROCEDURE
1. Disable the SIR system. Refer to SIR Disabling and Enabling Zone 8.

CAUTION: Do not strike or jolt the inflatable restraint sensing and diagnostic module (SDM). Before applying power to the SDM, make sure that it is securely fastened with the arrow facing toward the front of the vehicle. Failure to observe the correct installation procedure could cause SIR deployment, personal injury, or unnecessary SIR system repairs.




2. Move both driver and passenger seat forward and/or to the rear in order to gain access to console fasteners.
3. Remove the console.




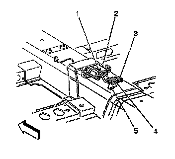
4. Remove the connector position assurance (CPA) (1) from the inflatable restraint SDM wiring harness connector (2).
5. Push down flex lock button (3) and then move sliding connector locking cover (4) to the open position.




6. Remove push-on clip (1) securing SDM wiring harness to console stud.
7. Disconnect the SDM wiring harness connector (3) from the SDM (2).




8. Remove the SDM mounting fasteners (1).
9. Remove the SDM (2) from the console floor (3).

INSTALLATION PROCEDURE
1. Remove any dirt, grease, or other impurities from the mounting surface.




2. Install the SDM (2) horizontally to console floor (3).
3. Point the arrow on the SDM toward the front of the vehicle.
4. Install the SDM mounting fasteners (1).

Tighten the fasteners to 9 N.m (80 lb in).

NOTE: Refer to Fastener Notice in Service Precautions.




5. Connect the SDM wiring harness connector (3) to the SDM (2).
6. Install the push-on clip (1) securing the SDM wiring harness to the console stud.




7. Push down flex lock button (3) and then move sliding connector locking cover (4) to the close position.
8. Install the CPA (1) to the inflatable restraint SDM wiring harness connector (2).




9. Install the carpet pre-slit to the close position covering the inflatable restraint SDM.
10. Install the console.
11. Position the driver and passenger seats to the original positions.
12. Enable the SIR system. Refer to SIR Disabling and Enabling Zone 8.
13. Program the new SDM into the dash integration module (DIM). Refer to Body Control Module (BCM) Programming/RPO Configuration in Computer/Integrating Systems.

IMPORTANT: The AIR BAG indicator may remain ON after the SDM has been replaced. DTC B1001 may set requiring the SDM part number to be set in multiple modules. If the indicator remains ON after enabling the SIR system, perform the diagnostic system check and follow the steps thoroughly to ensure that the SDM is set properly. Testing and Inspection