Steering - Revised Service Procedures

Need a step-by-step guide?

Get an AI-powered repair guide with parts lists, cost estimates, and clear instructions for your 1999 Buick.

AI Repair Guides
Bulletin No.: 03-02-36-002

Date: July 30, 2003

SERVICE MANUAL UPDATE

Subject:
Revised Steering Wheel Position Sensor or Steering Shaft Lower Bearing Replacement Procedure and Steering Wheel Position Sensor Centering Procedure

Models:
1998-2003 Buick LeSabre, Park Avenue
1998-2003 Cadillac DeVille, Seville
2003 Cadillac CTS
1998-2003 Chevrolet Corvette
1998 Oldsmobile Achieva
1998-2002 Oldsmobile Intrigue
1998-2003 Oldsmobile Aurora
1999-2003 Oldsmobile Alero
1998-2003 Pontiac Bonneville, Grand Am
1998-2000 Chevrolet C/K Pickup Models
1998-2003 Chevrolet Suburban, Tahoe
1999-2003 Chevrolet Silverado
2002-2003 Chevrolet Avalanche
1998-1999 GMC Suburban
1998-2000 GMC C/K Pickup Models
1998-2003 GMC Yukon
1999-2003 GMC Sierra
2000-2003 GMC Yukon Denali, Yukon XL
2003 GMC Sierra Denali

This bulletin is being issued to revise the Steering Wheel Position Sensor or Steering Shaft Lower Bearing Replacement procedure in the Variable Effort Steering (1998-2001 model years) or Steering Wheel and Column (2002-2003 model years) and add the Steering Wheel Position Sensor Centering procedure in the Steering Wheel and Column sub-sections of the Service Manual. Please replace the current information in the Service Manual with the following information.

The following information has been updated within SI. If you are using a paper version of this Service Manual, please make a reference to this bulletin on the affected page.

Steering Wheel Position Sensor or Steering Shaft Lower Bearing Replacement

Removal Procedure

Caution:
Refer to SIR Caution in Cautions and Notices.

1. Disable the SIR system. Refer to SIR Disabling and Enabling Zone 3 in SIR.

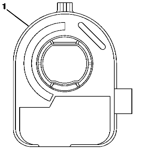
2. Remove the steering column from the vehicle. Refer to Steering Column Replacement.





3. Remove the following from the steering shaft:

3.1. steering shaft seal (7)

3.2. sensor retainer (6)

3.3. steering wheel position sensor (5), refer to Steering Wheel Position Sensor Centering.

3.4. 2 lower spring retainers (4)

3.5. lower bearing spring (3)

3.6. lower bearing seat (2)

3.7. adapter and bearing assembly (1)

Installation Procedure





1. Install the following onto the steering shaft:

1.1. adapter and bearing assembly (1)

1.2. lower bearing seat (2)

1.3. lower bearing spring (3)

1.4. 2 lower spring retainers (4)

1.5. steering wheel position sensor (5) refer to Steering Wheel Position Sensor Centering.

1.6. sensor retainer (6)

1.7. steering shaft seal (7)

1.8. Enable the SIR system. Refer to in SIR.

2. Install the steering column to the vehicle. Refer to Steering Column Replacement.

3. Enable the SIR system. Refer to SIR Disabling and Enabling Zone 3 in SIR.

Steering Wheel Position Sensor Centering

Removal Procedure

Important:
Identify the type of steering wheel position sensor from the illustrations below BEFORE removing the sensor from the steering column. Once you have identified the steering wheel position sensor, follow the instructions listed in the removal procedure.

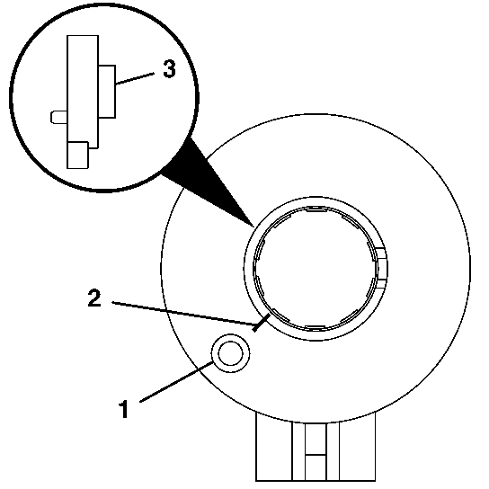
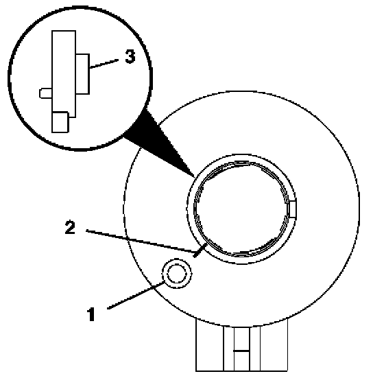
1. Verify the type of steering wheel position sensor.





2. From the technicians point of view, the FRONT of the sensor (1) connector will be on the right.

Important:
If reusing the existing sensor, you do not have to align the sensor before removal. Centering is not required when it is time to reinstall.

3. Remove the connector from the sensor.

4. Remove the sensor (1) from the adapter and bearing assembly.

5. To install the sensor, proceed to step 1 in the installation section.





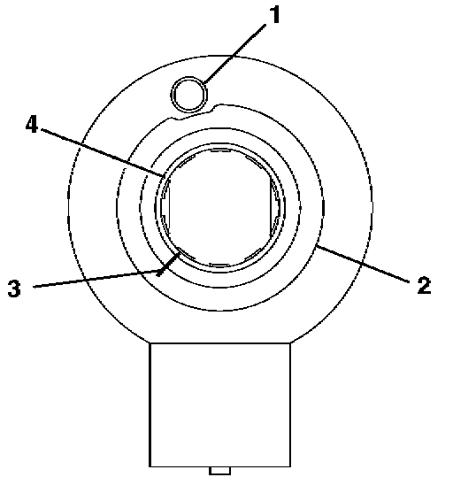
6. From the technicians point of view, the FRONT of the sensor will have:

^ A foam ring (2)

^ A pin hole (1) for centering the pin (note location of the pin hole)

^ A flush rotor flange cuff (4)

Important:
If reusing the existing sensor, you must make an alignment mark on the rotor flange cuff (3) before removing the sensor. Failure to do so will cause misalignment when installing the sensor. A new sensor will be required if misaligned.

7. Make an alignment mark on the flush rotor flange cuff (3).

8. Remove the connector from the sensor.

9. Remove the sensor from the adapter and bearing assembly.

10. To install the sensor, proceed to step 5 in the installation section.





11. From the technicians point of view, the FRONT of the sensor will have:

^ A raised rotor flange cuff (3)

^ An alignment mark (2) on the rotor flange cuff (3) for installation

^ A pin hole (1) for the centering pin (note location of the pin hole)

12. Remove the connector from the sensor.

13. Remove the sensor from the adapter and bearing assembly.

14. To install the sensor, proceed to step 9 in the installation section.





15. From the technicians point of view, the FRONT of the sensor will have:

^ A raised rotor flange cuff (3)

^ An alignment mark (2) on the rotor flange cuff (3) for installation

^ A pin hole (1) for the centering pin (note location of the pin hole)

^ A sensor clip in FRONT of the sensor

16. Remove the connector from the sensor.

17. Remove the sensor clip from the sensor.

18. Remove the sensor from the adapter and bearing assembly.

19. To install the sensor, proceed to step 13 in the installation section.





20. From the technicians point of view, the FRONT of the sensor will have:

^ A flush rotor flange cuff (3)

^ A pin hole (1) for the centering pin (note location of the pin hole)

^ An alignment mark (2) on the flush rotor flange cuff (3) for installation

21. Remove the connector from the sensor.

22. Remove the sensor from the adapter and bearing assembly.

23. To install the sensor, proceed to step 17 in the installation section.





24. From the technicians point of view, the FRONT of the sensor will have:

^ A flush rotor flange cuff (4)

^ A pin hole (2) for the centering pin (note location of the pin hole)

^ An alignment mark (3) on the flush rotor flange cuff (4) for installation

^ A foam ring (1)

25. Remove the connector from the sensor.

26. Remove the sensor from the adapter and bearing assembly.

27. To install the sensor, proceed to step 21 in the installation section.

Installation Procedure

Important:
If reusing the existing sensor, no centering of the sensor is required.

1. If installing a new sensor, it will come with a pin installed in the sensor. Do not remove the pin until the sensor is seated.





2. From the technicians point of view, the FRONT of the sensor (1) connector will be on your right. From the technicians point of view, the BACK of the sensor (2) connector will be on your left.

3. Looking at the FRONT of the sensor, align the sensor with the steering shaft and install into the adapter and bearing assembly.

4. Install the connector to the sensor.





5. From the technicians point of view, the FRONT of the sensor will have:

^ A foam ring (4)

^ A pin hole (7) for the centering pin (note location of the pin hole)

^ A flushed rotor flange cuff (6)

^ An alignment mark (5) for installation

6. From the technicians point of view, the BACK of the sensor will have:

^ Double D flats (1)

^ A foam ring (3)

^ An alignment tab (2) for installing into the adapter and bearing assembly.

^ A view of the inside of the connector

Important:
If reusing the existing sensor, you must align the marks on the flush rotor flange cuff before installation. The alignment mark must stay aligned until the sensor is seated into the adapter and bearing assembly.

If installing a new sensor, it will come with a pin installed in the sensor. Do not remove the pin until the sensor is seated. If the new sensor did not come with a pin installed, you must reorder a new sensor.

7. Looking at the FRONT of the sensor, align the sensor with the steering shaft and install into the adapter and bearing assembly.

8. Install the connector to the sensor.





9. From the technicians point of view, the FRONT of the sensor will have:

^ A pin hole (3) for the centering pin (note location of the pin hole)

^ A raised rotor flange cuff (5)

^ An alignment mark (4) for installation

10. From the technicians point of view, the BACK of the sensor will have:

^ Double D flats(1)

^ An alignment tab (2) for installing into the adapter and bearing assembly.

Important:
If reusing the existing sensor, you must align the marks on the raised rotor flange cuff before installation. The alignment mark must stay aligned until the sensor is seated into the adapter and bearing assembly.

If installing a new sensor, it will come with a pin installed in the sensor. Do not remove the pin until the sensor is seated. If the new sensor did not come with a pin installed, you must reorder a new sensor.

11. Looking at the FRONT of the sensor, align the sensor with the steering shaft and install into the adapter and bearing assembly.

12. Install the connector to the sensor.





13. From the technicians point of view, the FRONT of the sensor will have:

^ A pin hole (2) for the centering pin (note location of the pin hole)

^ A raised rotor flange cuff (4)

^ An alignment mark (3) for installation

14. From the technicians point of view, the BACK of the sensor will have an alignment tab (1) for installation. This sensor does not have double D flats.

Important:
If reusing the existing sensor, you must align the marks on the raised rotor flange cuff before installation. The alignment mark must stay aligned until the sensor is seated into the adapter and bearing assembly.

If installing a new sensor, it will come with a pin installed in the sensor. Do not remove the pin until the sensor is seated. If the new sensor did not come with a pin installed, you must reorder a new sensor.

15. Looking at the FRONT of the sensor, align the sensor with the steering shaft and install into the adapter and bearing assembly.

16. Install the connector to the sensor.





17. From the technicians point of view, the FRONT of the sensor will have:

^ A pin hole (2) for the centering pin (note location of the pin hole)

^ A flush rotor flange cuff (4)

^ An alignment mark (3) for installation

18. From the technicians point of view, the BACK of the sensor will have an alignment tab (1) for installation. This sensor does not have double D flats.

Important:
If reusing the existing sensor, you must align the marks on the flush rotor flange cuff before installation. The alignment mark must stay aligned until the sensor is seated into the adapter and bearing assembly.

If installing a new sensor, it will come with a pin installed in the sensor. Do not remove the pin until the sensor is seated. If the new sensor did not come with a pin installed, you must reorder a new sensor.

19. Looking at the FRONT of the sensor, align the sensor with the steering shaft and install into the adapter and bearing assembly.

20. Install the connector to the sensor.





21. From the technicians point of view, the FRONT of the sensor will have:

^ A pin hole (3) for the centering pin (note location of the pin hole)

^ A flush rotor flange cuff (5)

^ An alignment mark (4) for installation

^ A foam ring (6)

22. From the technicians point of view, the BACK of the sensor will have:

^ Double D flats (1)

^ An alignment tab (2) for installing into the adapter and bearing assembly.

Important:
If reusing the existing sensor, you must align the marks on the flush rotor flange cuff before installation. The alignment mark must stay aligned until the sensor is seated into the adapter and bearing assembly.

If installing a new sensor, it will come with a pin installed in the sensor. Do not remove the pin until the sensor is seated. If the new sensor did not come with a pin installed, you must reorder a new sensor.

23. Looking at the FRONT of the sensor, align the sensor with the steering shaft and install into the adapter and bearing assembly.

24. Install the connector to the sensor.





Disclaimer