Vehicle Ride (Trim) Height Specifications

Need a step-by-step guide?

Get an AI-powered repair guide with parts lists, cost estimates, and clear instructions for your 1992 Buick.

AI Repair Guides

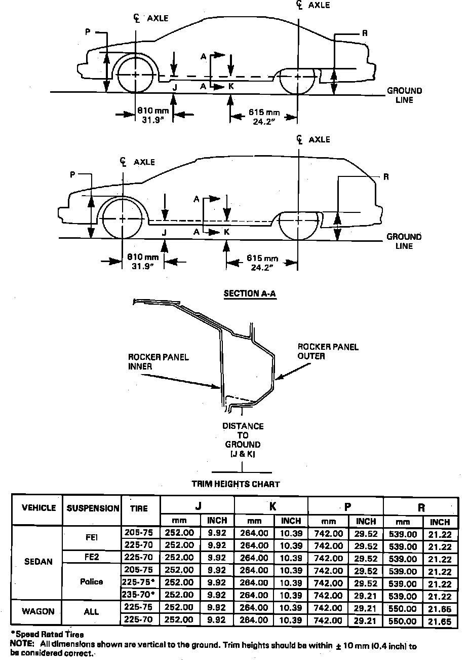
Fig. 45 Vehicle Trim Height Measurements:






Trim heights are checked with tires at recommended pressure, fuel tank at capacity, front seat in rear position, no passengers and trunk empty, except for spare tire and jack.

Refer to Fig. 45 for trim height measurements.