Relay Carrier

Need a step-by-step guide?

Get an AI-powered repair guide with parts lists, cost estimates, and clear instructions for your 1994 BMW.

AI Repair Guides



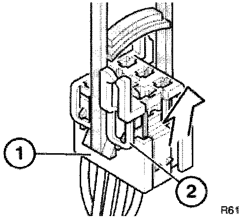
- Attach special tool 61 1 153 to relay carrier (1) and pull carefully in direction of arrow until the retaining tabs (2) on the relay holder can be lifted.




- Pull relay holder (2) in direction of arrow into first catch (3).




- Press down arrester hook (4) of appropriate contact and pull out cable with contact.
- Press out double flat spring contact with special tool 61 1 136 or 61 1 137 (ejector).