Application Information

Need a step-by-step guide?

Get an AI-powered repair guide with parts lists, cost estimates, and clear instructions for your 1994 BMW.

AI Repair Guides
Application Information:




- Use special tool kit 61 1 150.

These instructions only describe plugs with additional receptacle lock. The pins of plugs not described in this section can be pressed out with a suitable pressing out tool. After repairing plugs, it is always very important to make sure that the locks of plugs have engaged.

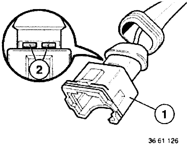
Ultrasonic Bonded Plugs:




- Pins of plugs (1) are bonded ultrasonically and cannot be replaced.
- They can be recognized by the bonds (2) on the long side of the plug.




- Pins of plugs (1) are bonded ultrasonically and cannot be replaced.
- They can be recognized by the bonds (2) on the long side of the plug.