Intake Manifold Runner Control Valve, Checking

Need a step-by-step guide?

Get an AI-powered repair guide with parts lists, cost estimates, and clear instructions for your 2012 Audi.

AI Repair Guides






Intake Manifold Runner Control Valve, Checking

Special tools, testers and auxiliary items required

multimeter.

Wiring diagram.

Test requirements

Fuse (SA5) OK.

The Secondary Air Injection (AIR) Pump Relay (J299) OK.

The parking brake engaged.

The battery voltage at least 12.5 V.

The selector lever of automatic transmission in position "P" or "N".

All electrical consumers switched off (radiator fan must NOT run during test).

A/C switched off.

The fuel tank at least 1/4 filled.

The ignition switched off.

Test procedure

- Perform a preliminary check to verify the customers complaint. Refer to => [ Preliminary Check ] Preliminary Check.

Start diagnosis

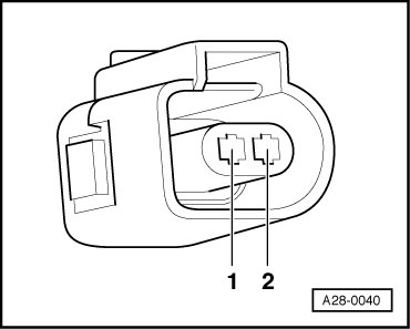
- Disconnect the Intake Manifold Runner Control (IMRC) Valve (N316) electrical harness connector.- 2 -





Checking internal resistance

- Using a multimeter, check the Intake Manifold Runner Control (IMRC) Valve (N316) terminals 1 to 2 for resistance.





Specified value: 25 [+/-] 10 ohms.

If the specified value was not obtained:

- Replace the Intake Manifold Runner Control (IMRC) Valve (N316). Refer to the appropriate service manual.

If the specified value was obtained:

Checking voltage

Switch the ignition on.

- Using a multimeter, check the Intake Manifold Runner Control (IMRC) Valve (N316) electrical harness connector terminal 2 to ground (GND) for voltage.





Specified value: battery voltage.

- Switch the ignition off.

If the specified value was not obtained:

- Check the wiring from the Intake Manifold Runner Control (IMRC) Valve (N316) electrical harness connector terminal 2 to fuse SB5 on fuse panel B.

- Check the electrical harness connector for damage, corrosion, loose or broken terminals.

- If necessary, repair the wiring connection.

If no malfunctions are found in the wiring:

Checking wiring

If the manufacturers test box is being used, perform the following step.

- Install the test box.

If the manufacturers test box is not being used, perform the following step.

- Remove the Engine Control Module (ECM) (J623). Refer to the appropriate service manual.

- Using a multimeter, check the Intake Manifold Runner Control (IMRC) Valve (N316) electrical harness connector terminal 1 to the Engine Control Module (ECM) (J623) electrical harness connector.






Specified value: 1.5 ohms Max.

If the specification was not obtained:

- Check the wiring for a open circuit.

- Check the electrical harness connector for damage, corrosion, loose or broken terminals.

- If necessary, repair the faulty wiring connection.

If no malfunction is detected in the wiring:

- Erase the DTC memory. Refer to => [ Diagnostic Mode 04 - Erase DTC Memory ] Scan Tool Testing and Procedures.

- Perform a road test to verify repair.

If the DTC does not return:

Generate readiness code. Refer to => [ Readiness Code ] Readiness Code.

If the DTC does return and no malfunction is detected in the wiring and the voltage supply was OK:

- Replace the Engine Control Module (ECM) (J623). Refer to the appropriate service manual.

Final procedures

After the repair work, the following work steps must be performed in the following sequence:

1. Check the DTC memory. Refer to => [ Diagnostic Mode 03 - Read DTC Memory ] Scan Tool Testing and Procedures.

2. If necessary, erase the DTC memory. Refer to => [ Diagnostic Mode 04 - Erase DTC Memory ] Scan Tool Testing and Procedures.

3. If the DTC memory was erased, generate readiness code. Refer to => [ Readiness Code ] Readiness Code.