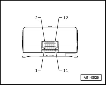
Harness Connector of Speech Input Control Module (J507)

Need a step-by-step guide?

Get an AI-powered repair guide with parts lists, cost estimates, and clear instructions for your 2012 Audi.

AI Repair Guides






Harness Connector of Speech Input Control Module (J507)

Unlisted connector terminals are not used.

12-Pin Connector





1. Not assigned

2. Not assigned

3. Status

4. Diagnosis

5. Terminal 30

6. Reset signal

7. Power good

8. Power on

9. Terminal 31

10. MOST out

11. Enabled

12. MOST in