Engine Control Module (ECM) -J623

Need a step-by-step guide?

Get an AI-powered repair guide with parts lists, cost estimates, and clear instructions for your 2012 Audi.

AI Repair Guides






Control modules in front part of vehicle

Engine Control Module (ECM) -J623-









Component Location:


In center plenum chamber -Arrow-


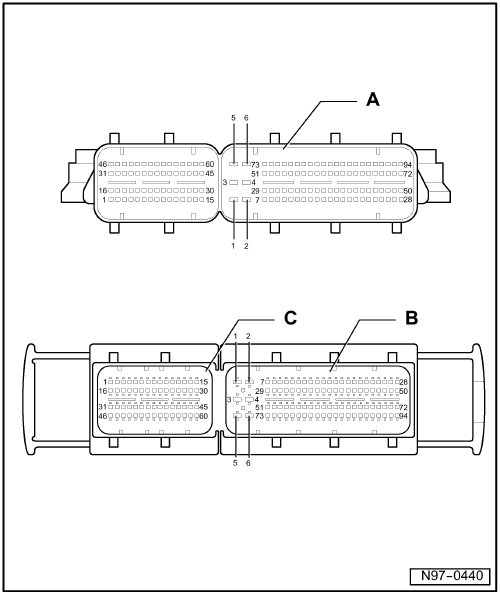
121-pin, Pin Arrangements:







A - Engine Control Module (ECM) -J623-
Connector:

B - 81-Pin Connector -T81-

C - 40-Pin Connector -T40-

Note:
-T121- consists of items B and C




154-pin, Pin Arrangements:







A - Engine Control Module (ECM) -J623-
Connector:

B - 94-Pin Connector -T94-

C - 60-Pin Connector -T60-