Engine Coolant Temperature Sensor, Checking

Need a step-by-step guide?

Get an AI-powered repair guide with parts lists, cost estimates, and clear instructions for your 2006 Audi.

AI Repair Guides





Engine Coolant Temperature Sensor, Checking

CAUTION!
Cooling system is under pressure.

Danger of scalding when opening!

Use only gold-plated terminals when servicing terminals in the electrical harness connector of Engine Coolant Temperature (ECT) Sensor (G62).

Special tools, testers and auxiliary items required

Multimeter.

jumper wire.

Wiring diagram.

Test requirements

The Engine Control Module (ECM) ( J623) fuses OK.

Battery voltage at least 12.5 volts.

All electrical consumers such as, lights and rear window defroster, switched off.

Vehicles with automatic transmission, shift selector lever into position " P" or "N".

A/C switched off.

Ground (GND) connections between engine/transmission/chassis OK.

Ignition switched off.

Engine cold.

Function test

- Connect the scan tool.

- Switch the ignition on.

- Using the scan tool, check the coolant temperature:





If the specified value is not obtained:

- Continue test according to the following table:





If the specified value was obtained:

- Start the engine and let it run at idle.

The temperature value must increase uniformly in increments of 1.0° C.

If the engine shows problems in certain temperature ranges and if the temperature does not climb uniformly, the temperature signal is intermittent.

- Replace the the Engine Coolant Temperature (ECT) Sensor ( G62).

Test procedure

- Perform a preliminary check to verify the customers complaint. Refer to => [ General Diagnosis ] General Diagnosis.

Start diagnosis

- Remove the front engine cover - arrows -.





Checking internal resistance

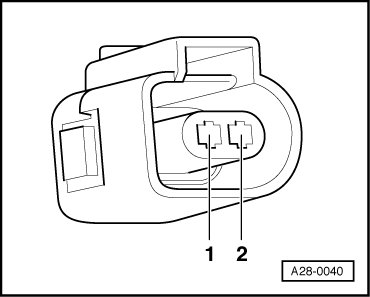
- Disconnect the Engine Coolant Temperature (ECT) Sensor (G62) electrical harness connector - arrow -.





- Using a multimeter, check the Engine Coolant Temperature (ECT) Sensor (G62) terminals 1 to 2 for resistance.





Use the chart below for the specified values:

Area A: Resistance values 0 to 50° C.

Area B: Resistance values 50 to 100° C.

Specified values:





Range A, 30° C equals a resistance of 1.5 to 3.2 kohms

Range B, 80° C equals a resistance of 275 to 375ohms

If any of the specified values was not obtained:

- Replace the Engine Coolant Temperature (ECT) Sensor ( G62) ADD LINK.

°Testing if display is approx. - 40.0 C

- Disconnect the Engine Coolant Temperature (ECT) Sensor (G62) electrical harness connector - arrow -.





- Using a jumper wire, connect the Engine Coolant Temperature (ECT) Sensor (G62) electrical harness connector terminals 1 to 2.

- Check the value indicated on the scan tool display.





If the value jumps to approx. 140.0° C

- End diagnosis and switch the ignition off.

- Replace the Engine Coolant Temperature (ECT) Sensor ( G62) ADD LINK.

If indication remains at approx. -40.0° C:

°Testing if display approx. 140.0 C

- Disconnect the Engine Coolant Temperature (ECT) Sensor (G62) electrical harness connector - arrow -.





If indication jumps to approx. -40.0° C:

- End diagnosis and switch ignition off.

- Replace the Engine Coolant Temperature (ECT) Sensor ( G62) ADD LINK.

If indication remains at approx. 140.0° C:

Checking wiring

If the manufacturers test box is being used. Perform the following step.

- Install the test box. Refer to Fuel Injection and Ignition Repair Information.

If the manufacturers test box is not being used. Perform the following step.

- Remove the Engine Control Module (ECM) (J623 ). Refer to => [ ECM, Removing and Installing ] ECM, Removing and Installing.

- Using a Multimeter, check the Engine Coolant Temperature (ECT) Sensor ( G62) electrical harness connector terminals to the Engine Control Module (ECM) ( J623) electrical harness connector T60 terminals for an open circuit.









Specified value: 1.5 ohms Max.

If the specification was not obtained:

- Check the wiring for a short circuit to each other, Battery (+), and Ground (GND).

- Check the electrical harness connector for damage, corrosion, lose or broken terminals.

- If necessary, repair the faulty wiring connection.

If no malfunction is detected in the wiring:

- Replace the Engine Control Module (ECM) (J623 ). Refer to => [ ECM, Removing and Installing ] ECM, Removing and Installing.

- Install the front engine cover - arrows -.





Final procedures

After repair work, the following work steps must be performed in the following sequence:

1. Check the DTC memory. => [ Diagnostic Mode 03 - Read DTC Memory ] Diagnostic Mode 03 - Read DTC Memory.

2. If necessary, erase the DTC memory. => [ Diagnostic Mode 04 - Erase DTC Memory ] Diagnostic Mode 04 - Erase DTC Memory.

3. If the DTC memory was erased, generate readiness code. => [ Readiness Code ] Monitors, Trips, Drive Cycles and Readiness Codes.

- End of diagnosis.