Air Quality Sensor

Need a step-by-step guide?

Get an AI-powered repair guide with parts lists, cost estimates, and clear instructions for your 2006 Audi.

AI Repair Guides





Air Quality Sensor

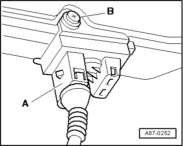
The air quality sensor is a highly sensitive electronic component that can be damaged if it comes in direct contact with solvents, fuels, or certain chemical compositions (e.g. impurities may enter through area - A - in version "2").





Do not install an air quality sensor that has been kept, for example, in a tool box.

Do not store a removed air quality sensor in areas where they can come into contact with solvents, fuels, and certain chemical compositions (fluids or vapors).

The air quality sensor is available in various versions. Air quality sensor version "1" was installed at the start of production. This sensor will be replaced gradually by sensor version "2" but the mode of operation is identical.

Removing

- Remove the plenum chamber cover.

Version "1"

- Disconnect connectors - A - from the air quality sensor.





- Remove screw - B - and remove the air quality sensor.

Terminal assignment in connector - A -





1 B+ (terminal "15")
2 Ground (terminal "31")
3 Signal wire to Climatronic control module A/C control head (square wave signal not measurable)
4 Not assigned

Version "2"

- Disconnect connectors - A - from air quality sensor.





- Disengage locking mechanism - B - and slide air quality sensor - C - down.

Terminal assignment in connector - A -

1 B+ (terminal "15")
2 Ground (terminal "31")
3 Signal wire to Climatronic control module A/C control head (square wave signal not measurable)

Installing

Installation is reverse of removal.