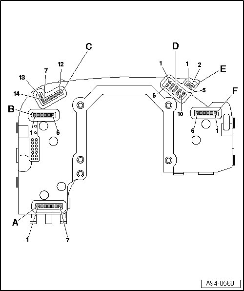
Steering Column Electronic Systems Control Module Connector Assignment, Front Side

Need a step-by-step guide?

Get an AI-powered repair guide with parts lists, cost estimates, and clear instructions for your 2006 Audi.

AI Repair Guides





Steering Column Electronic Systems Control Module Connector Assignment, Front Side

The Steering Column Electronic Systems Control Module (J527) is part of the complete system "steering column switch module (SCSM)". and receives signals from steering column switch, for example.

Checking Steering Column Electronic Systems Control Module (J527) Vehicle diagnosis, testing and information system VAS 5051.





A - Cruise control connector

1 - Ground (GND)

2 - Fix

3 - Distance

4 - 12V voltage supply

5 - Resume/touch "Off"

6 - Acceleration/deceleration

7 - Locked "Off"

B - Turn signal indicator connector

1 - Ground (GND)

2 - Radio telephone (special-purpose vehicles)

3 - Alarm (special-purpose vehicles)

4 - Not used

5 - Headlight flasher/light control

6 - Turn signal indicators

C - Harness connector of multi-function steering wheel/Tiptronic/heated steering wheel

7 - Tip-"-"

8 - Multi-function steering wheel "+"- Voltage supply

9 - Multi-function steering wheel/data

10 - Tip-"+"

11 - Multi-function steering wheel/dimmer

12 - Tiptronic Ground (GND)

13 - Heated steering wheel "+"

14 - Heated steering wheel "-"

D - Steering Angle Sensor

1 - Light barrier 5

3 - Light barrier 1

3 - Light barrier 1

4 - 12V voltage supply

5 - 5 V voltage supply

6 - Light barrier 6

7 - Light barrier 4

8 - Light barrier 2

9 - Steering Angle Sensor ground

10 - Light barrier 7

E - Horn

1 - Horn ground

2 - Horn

F - Wiper system

1 - Ground (GND)

2 - Intermittent wipe potentiometer

3 - Board computer

4 - Not used

5 - Wash

6 - Wipe